EasyManua.ls Logo

Alpine MRD-M1000 - Operation Method; Switching the Display

Alpine MRD-M1000
24 pages
Print Icon
To Next Page IconTo Next Page
To Next Page IconTo Next Page
To Previous Page IconTo Previous Page
To Previous Page IconTo Previous Page
Loading...
13
EspañolFrançais
English
9
Touche DISP
10
Touche MODE
11
Touche ENT
12
Touche DOWN
13
Touche UP
14
Indicateur d’état
15
Indicateur d’alimentation
Allumé lors de la mise en marche.
Eteint lors de l’extinction.
METHODE DE FONCTIONNEMENT
Commutation de l’affichage:
(1) Appuyez sur la touche “DISP”.
Chaque fois que l’on appuie sur cette touche, l’affi-
chage change.
9
Botón DISP
10
Botón MODE
11
Botón ENT
12
Botón DOWN
13
Botón UP
14
Indicador de estado
15
Indicador de alimentación
Encendido cuando el aparato está en marcha.
Apagado cuando el aparato está apagado.
MÉTODO DE OPERACIÓN
Cambio de la visualización:
(1) Pulse el botón “DISP”.
La visualización cambiará cada vez que se pulse el
botón.
9
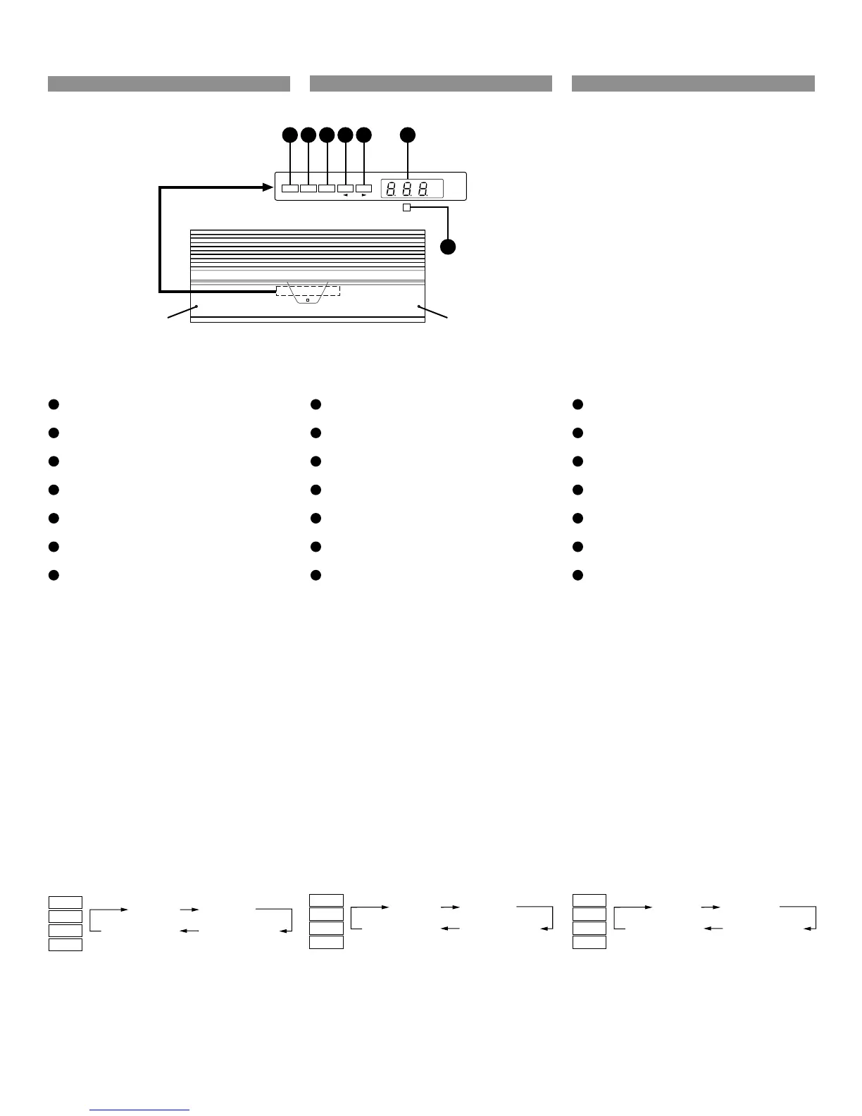
DISP Button
10
MODE Button
11
ENT Button
12
DOWN Button
13
UP Button
14
Status Indicator
15
Power Indicator
Lights up when power is on.
Is off when power is off.
OPERATION METHOD
Switching of the display:
(1) Press the “DISP” button.
The display will change with each press of the but-
ton.
DISP MODE ENT
ºF
ºC
V
A
9
10 11 12 13 14
15
Hz
dB
ms
★★
Take off the two hexagon screws when operation and open the door.
When you finish the operation, close the door and fix it with the original
hexagon screws.
Enlevez les deux vis à tête hexagonale lors de l’opération et ouvrez la
porte. Une fois terminé l’opération, fermez la porte et la fixer avec les vis
à tête hexagonale d’origine.
Para la operación, quitar los dos tornillos hexagonales y abrir la puerta.
Cuando acabe la operación, cerrar la puerta y fijarla con los tornillos
hexagonales de origen.
VOLTAGE CURRENT
Fahrenheit
TEMPERATURE
Centigrade
TEMPERATURE
12.3V
10.0A
87°F
31°C
TENSION INTENSITE
TEMPERATURE
Fahrenheit
TEMPERATURE
Centigrade
12.3V
10.0A
87°F
31°C
VOLTAJE CORRIENTE
TEMPERATURA
Fahrenheit
TEMPERATURA
Centígrada
12.3V
10.0A
87°F
31°C
<Display> <Affichage> <Visualización>
Fig. 13

Other manuals for Alpine MRD-M1000

Related product manuals