EasyManua.ls Logo

Alto 2000 - Hydraulic Reservoir Assembly

Alto 2000
157 pages
Print Icon
To Next Page IconTo Next Page
To Next Page IconTo Next Page
To Previous Page IconTo Previous Page
To Previous Page IconTo Previous Page
Loading...
AMERICAN-LINCOLN TECHNOLOGY 2-59
SMART 2000
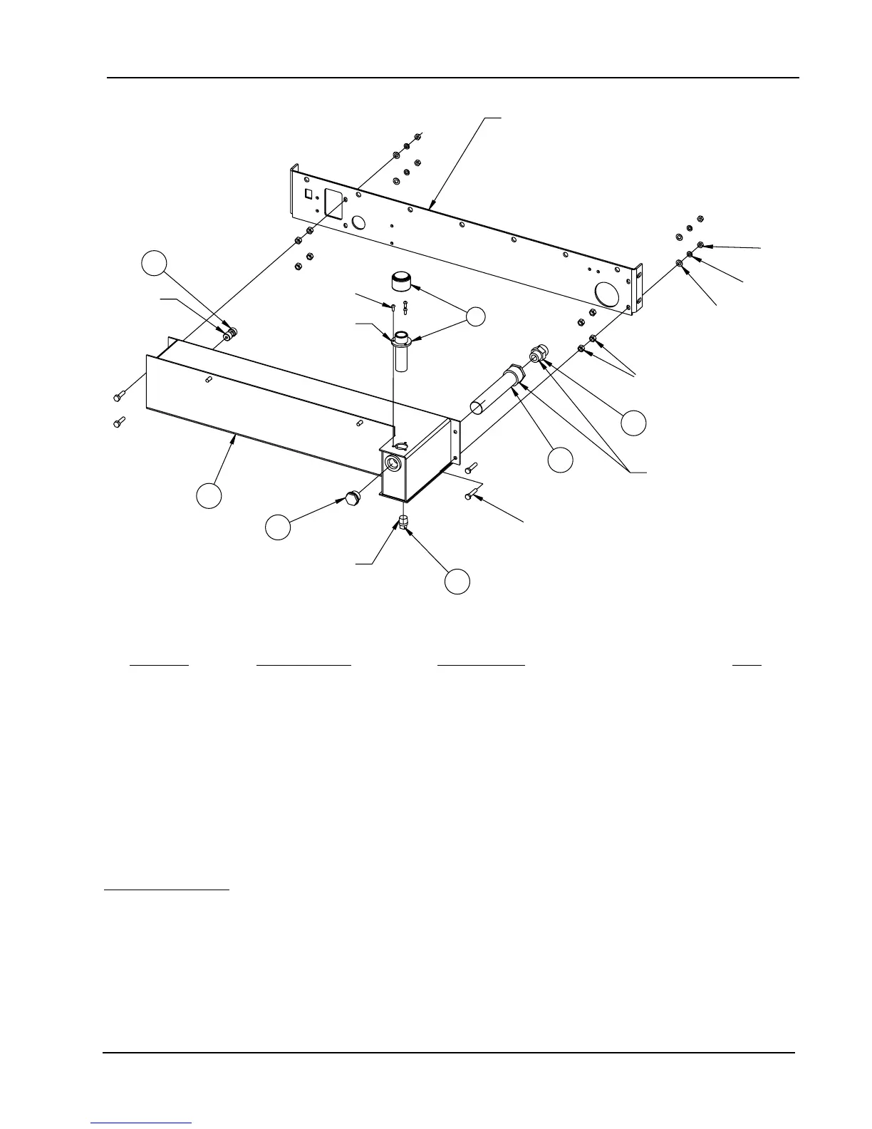
HYDRAULIC RESERVOIR ASSEMBLY
Key No. Part Number Description Qty.
1 7-83-04183 Reservoir 1
2 2-00-02474 Plug - 1/2 NPT 1
3 7-11-00033 Filter Breather 1
4 8-48-05033 Sight Glass (Hyd. Fluid) 1
5 8-24-04115 Strainer - Hydraulic Reservoir 1
*6 2-00-05453 Fitting - 12RFS - 1/2 NPT, STR Ref.
*7 2-00-05439 Fitting - ORS M TO NPTF M 08 X 08 Ref.
* ITEMS ARE PART OF HYDRAULIC KIT 0760-546
HARDWARE USED:
H38 2-00-00225 Screw, 5/16-18 x 1.500 HHC 4
H43 2-00-00409 Flat Washer, .687 x .344 x .062 4
H44 2-00-00530 Lock Washer, 5/16 HS Med. 4
H45 2-00-00585 Nut, Hex. 5/16-18 x .500 x .265 4
H54 2-00-02360 Nut, 3/8-16 Hex. 8
H222 2-00-02848 Screw, 10-32 x .50 Cad PL, STL RHM 3
C1964/0106
1
4
2
APPLY PST
H38
5
6
H54
APPLY PST
C1964/0007
3
DO NOT USE
SUPPLIED
GASKET
H43
H44
H45
REF 7-81-00224
H222
APPLY RTV
SEALANT
7
APPLY PST

Table of Contents

Related product manuals