EasyManua.ls Logo

Amano PIX-3000x - Connecting the Battery

Amano PIX-3000x
40 pages
Print Icon
To Next Page IconTo Next Page
To Next Page IconTo Next Page
To Previous Page IconTo Previous Page
To Previous Page IconTo Previous Page
Loading...
PIX-3000x Operations Manual 3
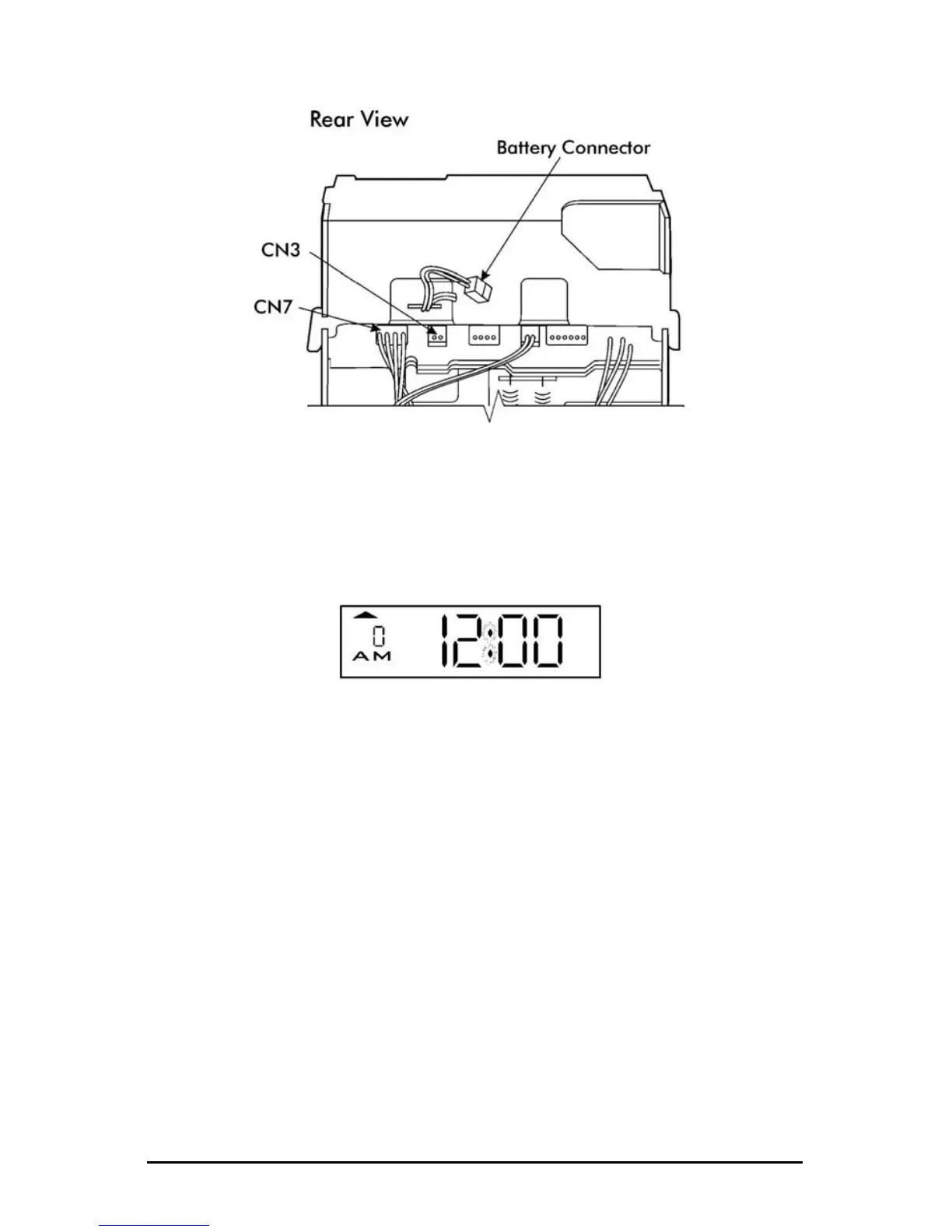
Connecting the Battery
1. Connect the battery cable (the connector with the black and red
wires) into connector CN3.
2. Plug the AC power cord into a wall socket. The time and date of
12:00 am, midnight on January 1st will appear in the display, with a
flashing colon.
Note: Turning the AC power on, i.e., plugging the AC power cord into a
wall socket will cause the printer carriage to move up.
Note: When AC power is not connected properly, the colon will not flash
(see Error Messages).
Note: After connecting the unit to AC power for the first time, allow it to
charge the batteries for 24 hours without printing. Failure to do so
may result in reduced battery life.
Note: To avoid damaging the power reserve battery, or draining it to an
unrecoverable level, keep the machine plugged into an AC power
source during normal operation. The power reserve battery is used
for limited power outages, not as a power source during normal
operations.

Other manuals for Amano PIX-3000x

Related product manuals