EasyManua.ls Logo

Ambirad VPlus40 - Page 31

Ambirad VPlus40
36 pages
Print Icon
To Next Page IconTo Next Page
To Next Page IconTo Next Page
To Previous Page IconTo Previous Page
To Previous Page IconTo Previous Page
Loading...
“VPLUS” SERIES INFRARED GAS HEATER
AMBIRAD
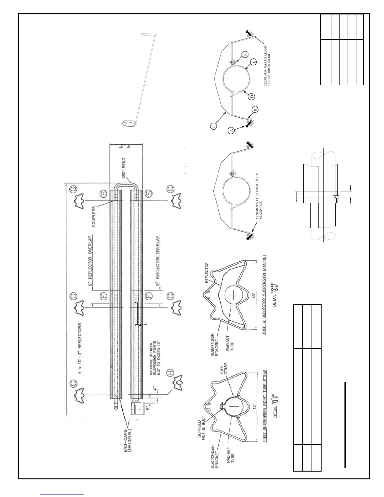
FIXED JOINT DETAIL SLIDING JOINT DETAIL
SERIES COMBUSTION TUBE REMAINING TUBES REFLECTORS
SC 4” ALUMINISED STL. 4” MILD STEEL ALUMINIUM
ER 4” ALUMINISED STL. 4” MILD STEEL STAINLESS STEEL
REFLECTOR OVERLAP
2" (50) MINIMUM
C
L
“U40”
BURNER INSERT DETAIL
NOTE: FOR VPLUS80 AND
VSPLUS100 ONLY
MODEL NUMBER
BTU/HR
VPLUS80-U40 80,000
VPLUS100-U40 100,000
VPLUS125-U40 123,500
VPLUS150-U40 150,000
BURNER INSERT
SEE DETAIL
22’1½” NOMINAL OVERALL ASSEMBLED LENGTH

Related product manuals