EasyManua.ls Logo

Amco Veba 807N - Operazioni DI Sollevamento; Lifting Operations

Default Icon
205 pages
Print Icon
To Next Page IconTo Next Page
To Next Page IconTo Next Page
To Previous Page IconTo Previous Page
To Previous Page IconTo Previous Page
Loading...
B-53
B.9.6 OPERAZIONI DI
SOLLEVAMENTO
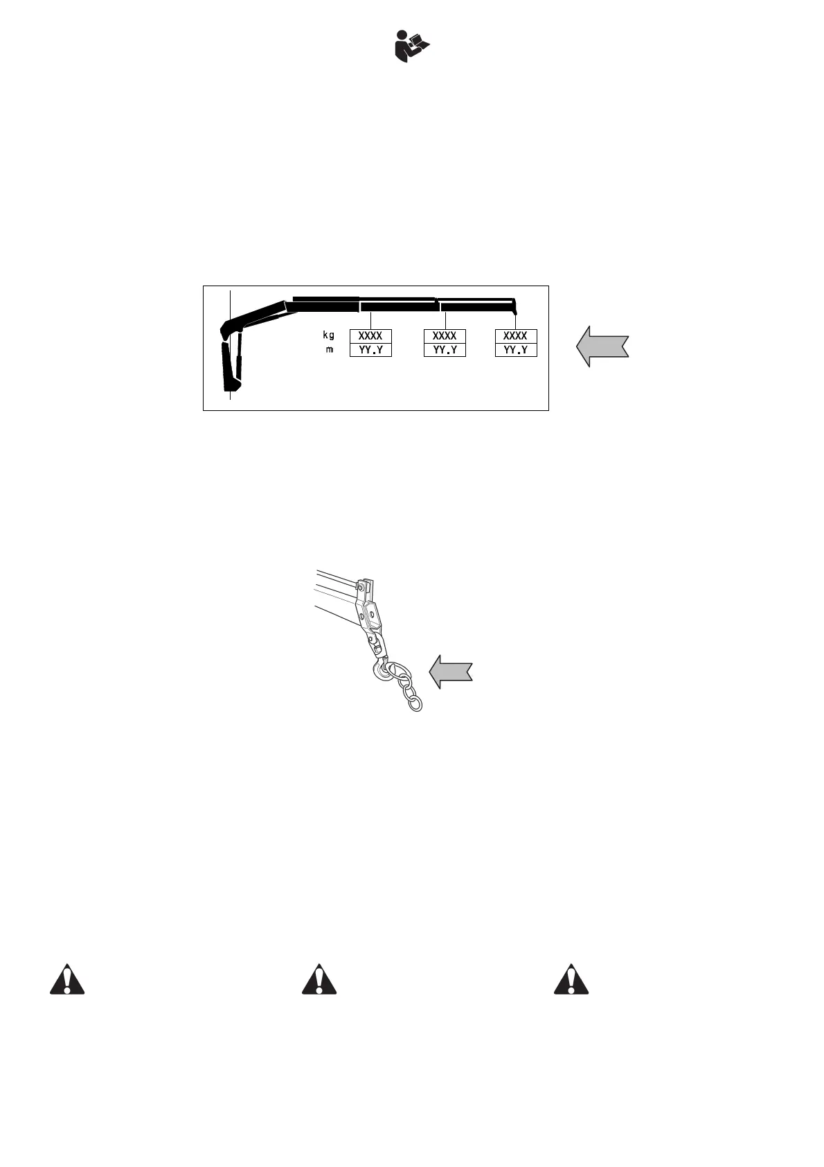
Prima di iniziare l’operazione di
sollevamento è necessario accertarsi
che il carico da sollevare, in relazione
allo sbraccio, non sia superiore a quello
indicato sul diagramma delle portate
applicato alla gru.
La gru solleva i carichi di targa con il
braccio orizzontale.
Non utilizzare mai organi di
sollevamento (grilli, ganci, funi, catene,
fasce, ecc.) il cui carico massimo sia
inferiore a quello da sollevare.
Applicare cavi, funi, catene, fasce di
sollevamento al gancio in modo tale da
non pregiudicare la loro sicurezza.
Sollevare i carichi dal loro centro di
gravità ed assicurarsi che non possano
muoversi, scivolare e ruotare
(vedi §A.11).
Evitare i movime
nti bruschi, agire
dolcemente e gradualmente sulle leve
di comando (vedi §A.11).
Non bloccare improvvisamente i
movimenti, sopratutto quelli di discesa
del carico e di rotazione. (vedi §A.11).
Non fare oscillare il carico (vedi §A.11).
I movimenti troppo veloci o a
scatti possono causare incidenti, il
carico può cadere o scivolare, la vita
utile della gru viene drasticamente
ridotta.
B.9.6 LIFTING OPERATIONS
Before beginning the lifting operations
it’s necessary to make sure that the
loads to be hoisted, depending on the
crane straddle, are not greater than
those indicated in the capacity diagram
stuck on crane.
The crane hoists the rated load if the
boom is in horizontal position.
Never use hoisting equipment
(shackles, hooks, ropes, chains, bands,
etc.) whose maximum capacity is lower
than that be hoisted.
Apply the hoisting cables, ropes, chains,
bands to the hook so that their safety is
not compromised.
Hoist the loads from their centre of
gravity and make sure that they cannot
move, slide and rotate (see §A.11).
Avoid su
dden movements, operate the
control levers gently and gradually
(see §A.11).
Do not inte
rrupt the movements
suddenly, mostly when lowering and
rotating the loads (see §A.11).
Do not swing the load (see §A.11).
Too quick or jerky movements
may create accidents, the load might
drop or slip and the crane life is
drastically reduced.
B.9.6 HEBEBETÄTIGUNG
Vor den Hebebetätigungen muss man
sicherstellen, dass die Last in Bezug auf
die Ausladung nicht größer ist als die in
dem Lastdiagramm (am Kran geklebt)
angegeben ist.
Der Kran hebt Schildlasten mit dem
Ausleger in horizontaler Position.
Niemals Hubelemente (Schäkel, Haken,
Seile, Bänder usw.) verwenden, deren
Höchstbelastung unter der zu hebenden
Last liegt.
Die Tragseile und Bänder so am Haken
befestigen, dass sie nicht ihre
Sicherheit beeinträchtigen.
Die Lasten von ihrem Schwerpunkt
anheben und sicherstellen, dass sie
sich nicht bewegen, verrutschen und
drehen können (siehe §A.11).
Plötzlic
he Bewegungen vermeiden; die
Bedienhebel langsam und schrittweise
betätigen (siehe §A.11).
Die Bewegungen - besonders das
Senken der Last und die Drehung -
nicht plötzlich blockieren (siehe §A.11).
Die Last darf nicht schaukeln
(siehe §A.11).
Durch zu schnelle oder
ruckartige Bewegungen können
Unfälle verursacht werden, die Last
kann herunterfallen oder verrutschen
und die Kranbrauchbarkeitsdauer
sinkt erheblich.

Table of Contents