EasyManua.ls Logo

Ancona AN-2201 - Setting Oven Controls

Ancona AN-2201
36 pages
Print Icon
To Next Page IconTo Next Page
To Next Page IconTo Next Page
To Previous Page IconTo Previous Page
To Previous Page IconTo Previous Page
Loading...
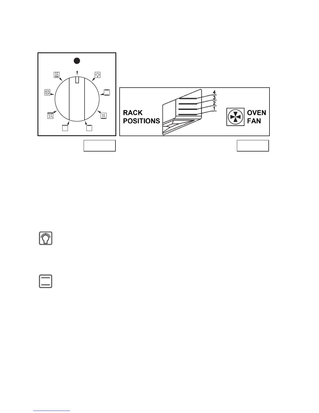
Setting Oven Controls
Selection of cooking temperature is carried out by turning the knob clockwise to the
required temperature.
The warning light will illuminate during the heating process.
Once the oven reaches desired temperature, the light will go out.
Regular flashing means that the oven temperature is being maintained at the
programmed level.
OVEN LIGHT INDICATOR
The lamp of the oven is on. During oven operation the lamp will always remain on.
TRADITIONAL COOKING (Upper and Lower element)
THERMOSTAT SELECTOR SWITCH FROM 60° C (140° F) TO MAX
The heat is provided from the top and bottom elements. The oven must be preheated before the
food is placed inside. Static cooking provides optimum results with: cakes, pizzas, bread and for
gentle slow cooking of casseroles. Characteristics of static cooking: heat provided from above
and below, cooking is possible only on middle shelf and should be centrally located in the oven.
Figure 13
Figure 14
26