EasyManua.ls Logo

Anthem AVM 2 - Composite Video; S-Video

Anthem AVM 2
70 pages
Print Icon
To Next Page IconTo Next Page
To Next Page IconTo Next Page
To Previous Page IconTo Previous Page
To Previous Page IconTo Previous Page
Loading...
18
4. CONNECTIONS continued …
The On-screen Display and Setup Menu are only displayed in MAIN (Zone / Path) and available when
Composite Video or S-Video connections are used. Composite Video is the factory default setting (see
section 7.4.9 menu 9.b). The AVM 2 does not provide an On-Screen Display or On-Screen Setup Menu
Display for the Component Video output.
If you are using Component Video, do the following to access the On-Screen Setup Menu Display:
Complete all Component Video connections (see section 4.3.3).
Connect the AVM 2 Composite or S-Video output to your TV Monitor’s Composite or S-Video input.
Temporarily change your TV Monitor to the Composite or S-Video input whenever you wish to
access the Setup Menu (section 7).
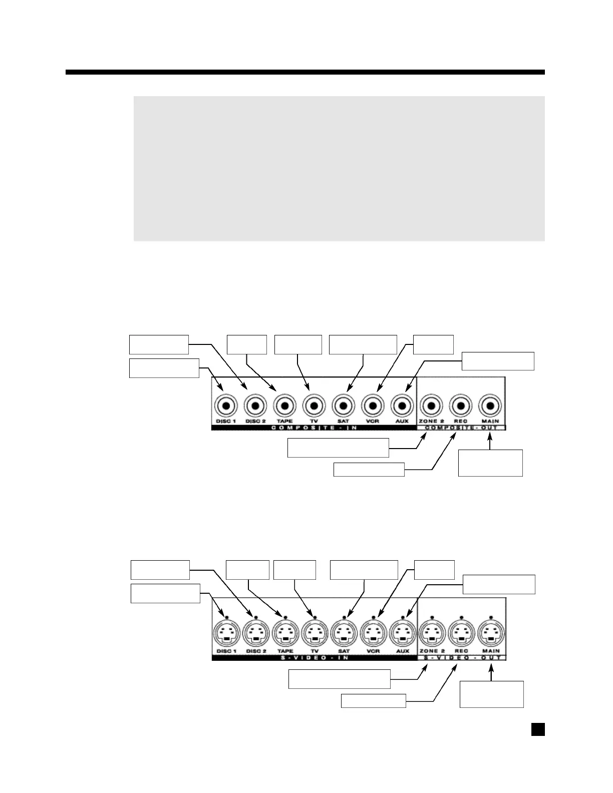
4.3.1 COMPOSITE VIDEO
This is the oldest and most commonly used video format. It combines the black/white and colour information
for transmission on a single coaxial cable with RCA connectors. These signals must then be separated again
within the TV Monitor, resulting in some degradation of video quality.
4.3.2 S-VIDEO
The S-Video signal is split into two parts (chrominance and luminance) and transmitted over a multi-
conductor cable with S-Video connectors (5-pin Mini DIN), resulting in better video quality.
From VCR
Video OUT
From Auxiliary
Component Video OUT
From Satellite Receiver
Video OUT
From VCR
Video OUT
From Auxiliary
Component Video OUT
From Satellite Receiver
Video OUT
From DVD Player 1
Video OUT
From DVD Player 2
Video OUT
To ZONE2 TV Monitor or Projector
Video IN
To VCR or Tape Video IN
To MAIN TV Monitor
or Projector
Video IN
From TV
Video OUT
From TV
Video OUT
From Tape
Video Out
From DVD Player 1
Video OUT
From DVD Player 2
Video OUT
From Tape
Video Out
To ZONE2 TV Monitor or Projector
Video IN
To VCR Video IN
To MAIN TV Monitor
or Projector
Video IN

Table of Contents