EasyManua.ls Logo

Anthem Statement D2 - Page 100

Anthem Statement D2
102 pages
Print Icon
To Next Page IconTo Next Page
To Next Page IconTo Next Page
To Previous Page IconTo Previous Page
To Previous Page IconTo Previous Page
Loading...
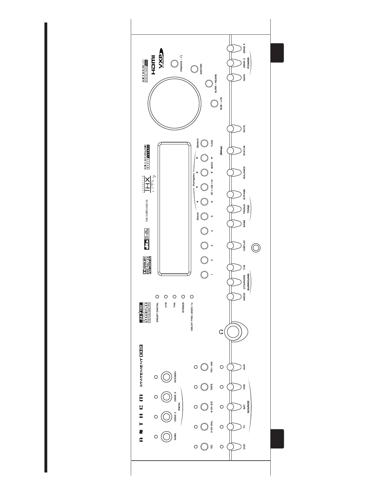
THE BIG PICTURE FRONT PANEL

Table of Contents

Related product manuals