EasyManua.ls Logo

APA 29640 - Page 16

APA 29640
Print Icon
To Previous Page IconTo Previous Page
To Previous Page IconTo Previous Page
Loading...
16
Durante il traino, osservare tassativamente le avvertenze di sicurezza!
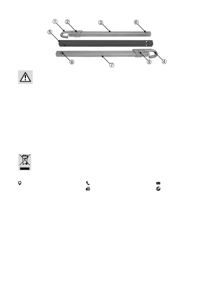
Separazione dei veicoli
Assicurare dapprima entrambi i veicoli anché non si spostino. Solo dopo si possono scollegare i ganci di traino
e dagli occhielli. A
tale scopo, spingere sui perni
e sganciare il gancio dall‘occhiello spostandolo sull‘asta . Eventualmente è necessario scollegare
anche il collegamento tra l‘asta
e l‘elemento intermedio . A tale scopo, premere sui perni e spostare l‘elemento intermedio
Procedere allo stesso modo all‘estremità opposta dell‘asta di traino.Al termine dell‘operazione di traino, riporre tutti i componenti
dell‘asta di traino nella borsa da trasporto.
6. MANUTENZIONE E CURA
7. AVVERTENZE SULLA TUTELA AMBIENTALE
Smaltire questo prodotto gettandolo nel bidone per il riciclo o consegnandolo ai punti di raccolta pubblici/comunali. I
materiali sono riciclabili. Con il riciclo, il recupero del materiale e altre forme di riutilizzo di prodotti usati si fornisce un
contributo importante per la protezione dell‘ambiente!
Pulire l‘asta di traino con un panno morbido e leggermente umido, impiegando un detergente delicato. Non utilizzare detergenti
aggressivi, solventi o benzina. Assicurarsi che né il detergente, né altri liquidi penetrino nell‘asta di traino.
Trattare i perni regolarmente con un olio penetrante leggero, ad es. WD40.
Conservare l‘asta di traino in un luogo asciutto.
8. COME CONTATTARCI
EAL GmbH
Otto-Hausmann-Ring 107
42115 Wuppertal, Germany
+49 (0)202 42 92 83 0
+49 (0) 202 42 92 83 – 160
info@eal-vertrieb.com
www.eal-vertrieb.com

Related product manuals