EasyManua.ls Logo

Aqua HC151 - Page 85

Aqua HC151
Print Icon
To Next Page IconTo Next Page
To Next Page IconTo Next Page
To Previous Page IconTo Previous Page
To Previous Page IconTo Previous Page
Loading...
18/09/15 Rev 3.4 85
HC797-897-997
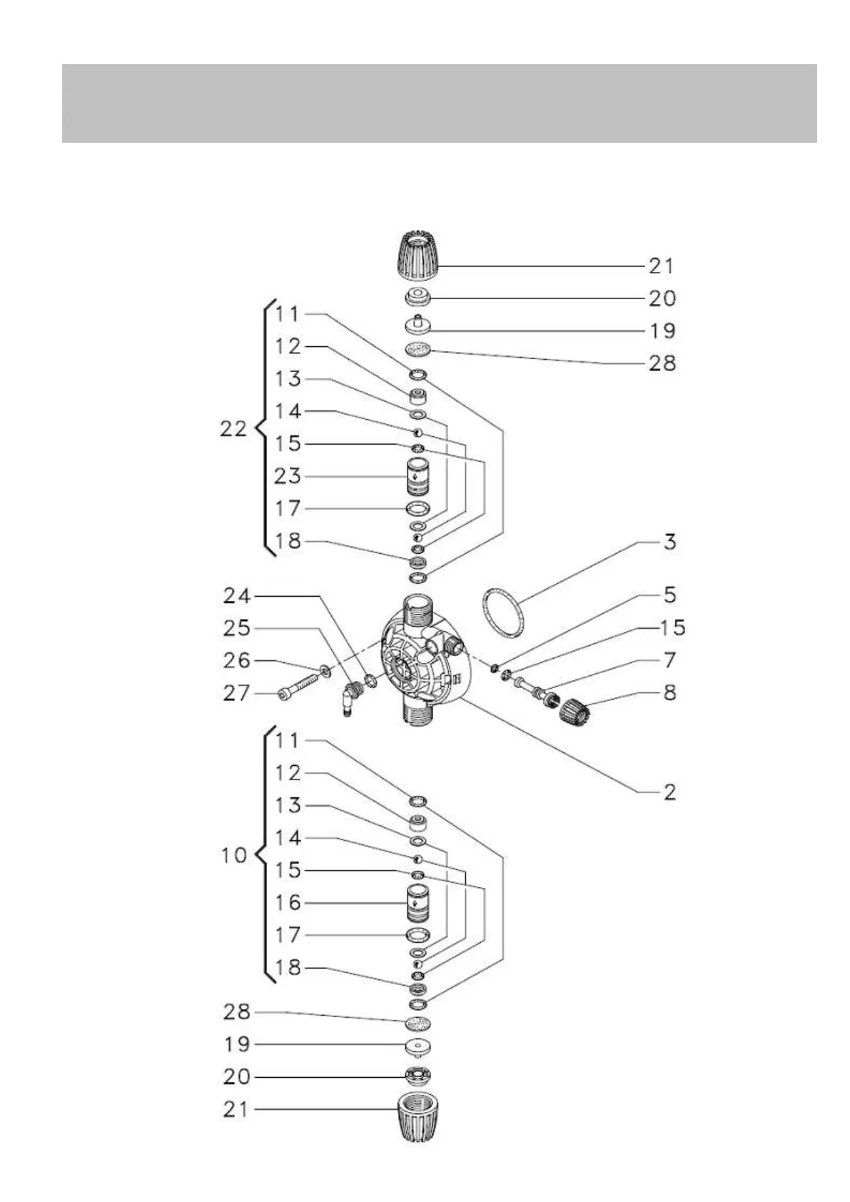
Fig. 22 HC 797-897-997 Corpo pompa valvole a labbro e sfera / Pump head lip and ball
valves / Corps pompe et clapets à lèvres et bille / Cuerpo de la bomba valvulas a labio y a
esfera / Pumpenkörper Lippen- und Kugelventile /  , 
 

Table of Contents

Related product manuals