EasyManua.ls Logo

Archos Drone VR - Page 176

Archos Drone VR
189 pages
Print Icon
To Next Page IconTo Next Page
To Next Page IconTo Next Page
To Previous Page IconTo Previous Page
To Previous Page IconTo Previous Page
Loading...
176
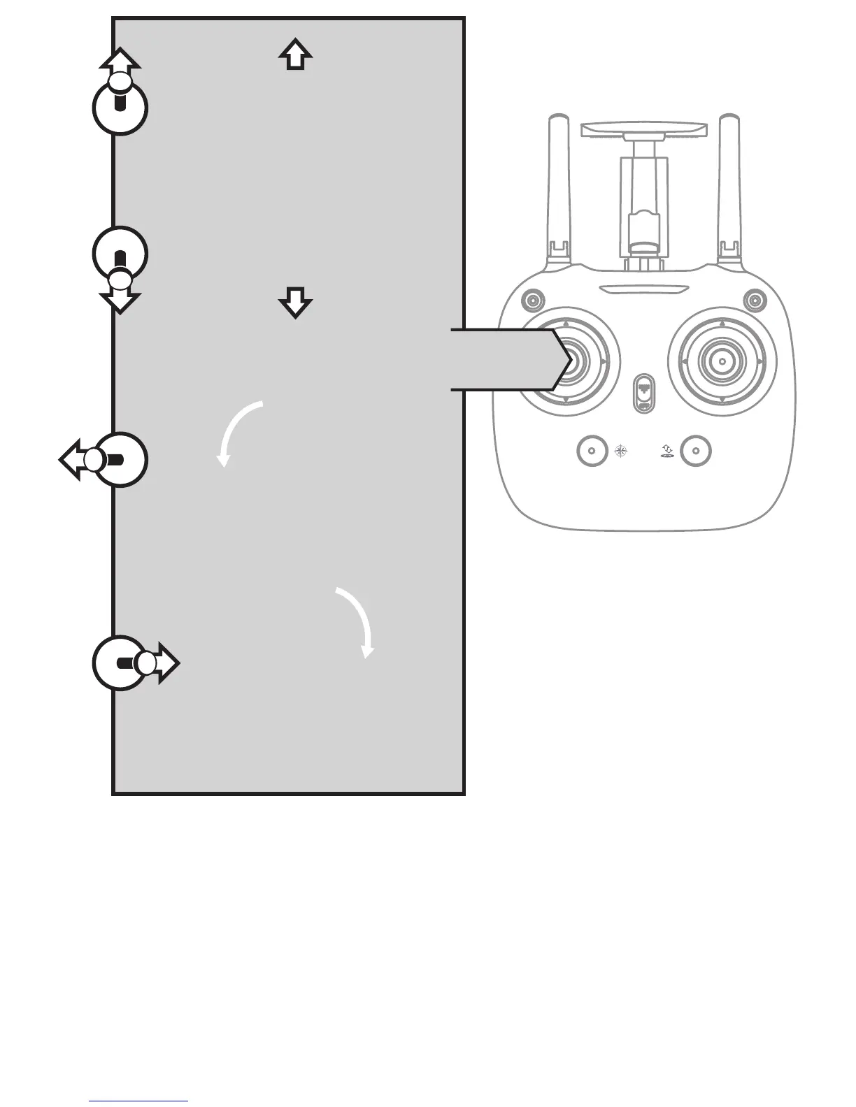
Nyomja a kart felfelé, a
drón leszáll
Húzza le a kart, a
drón leereszkedik.
Fordítsa a kart balra,
a drón balra fordul.
Fordítsa a kart jobbra,
a drón jobbra fordul.
Bal kar