EasyManua.ls Logo

Archos Drone VR - Page 177

Archos Drone VR
189 pages
Print Icon
To Next Page IconTo Next Page
To Next Page IconTo Next Page
To Previous Page IconTo Previous Page
To Previous Page IconTo Previous Page
Loading...
177
=
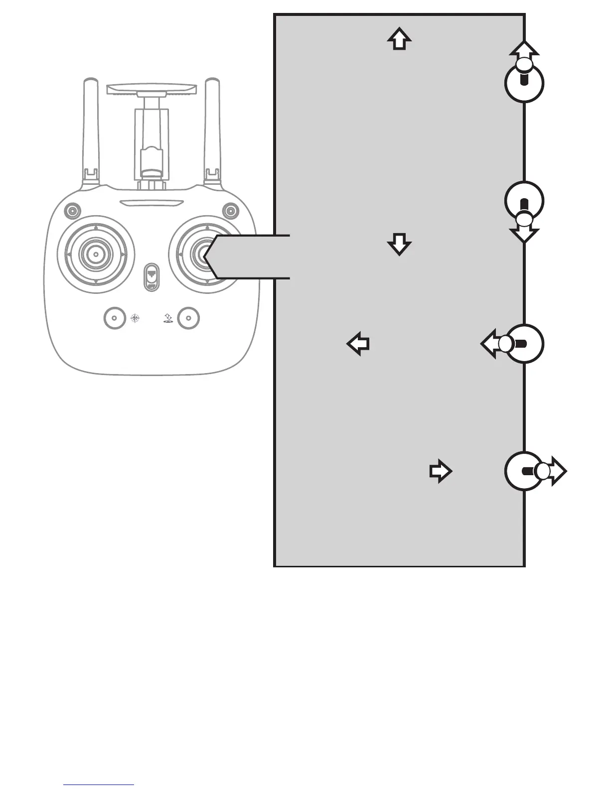
Nyomja a kart felfelé, a
drón megy előre.
Nyomja a kart lefelé, a
drón megy hátra.
Fordítsa a kart balra,
a drón balra fordul.
Fordítsa a kart jobbra,
a drón jobbra fordul.
Jobb kar