Home
Archos
Drones
Drone VR
Page 41
Archos Drone VR - Page 41
189 pages
Manual
Save Page as PDF
To Next Page
To Next Page
To Previous Page
To Previous Page
Loading...
41
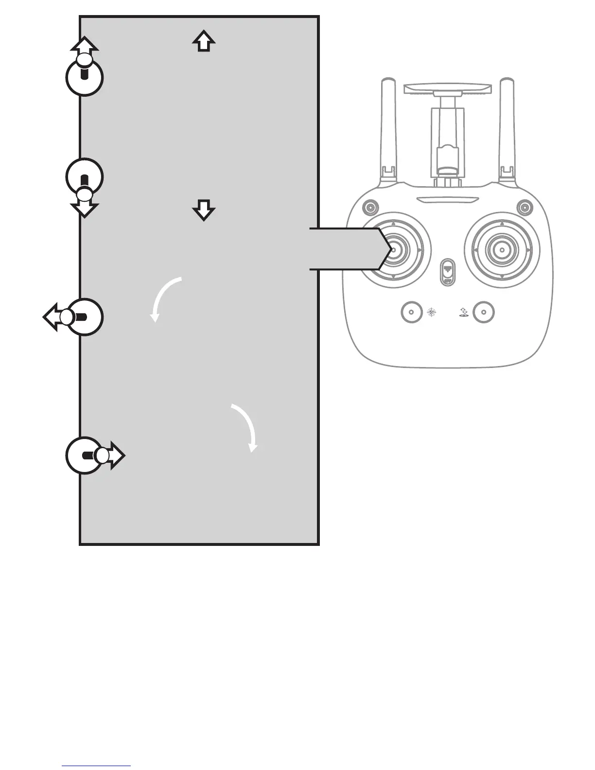
P
oussez le Joystick v
ers le
haut, le drone déc
olle
P
oussez le Joystick v
ers
le bas, le dr
one descend.
T
ournez le Joystick vers la
gauche, le dr
one tourne à
gauche.
T
ournez le Joystick vers la
droit
e, le dr
one tourne à
droit
e.
Joystick
gauche
40
42
Table of Contents
Main Page
Instructions for Drone and Transmitter
5
Installing the Batteries
10
Checklist before Flight
12
Calibration Instructions
13
Functions Introduction
18
Altitude Hold Mode
19
Heading Hold Mode
20
Low Battery Alarm
21
Out of Range Alarm
22
Manuel D'utilisation
27
Einlegen des Akkus
63
Mando de Control
86
Instalación de las Pilas
90
Manuale Utente
108
Installazione Delle Batterie
117
Allarme Batteria Scarica
128
Instrukcja Obsługi
134
Használati Utasítás
161
Elemek Behelyezése
171