EasyManua.ls Logo

Archos Drone VR - Page 42

Archos Drone VR
189 pages
Print Icon
To Next Page IconTo Next Page
To Next Page IconTo Next Page
To Previous Page IconTo Previous Page
To Previous Page IconTo Previous Page
Loading...
42
=
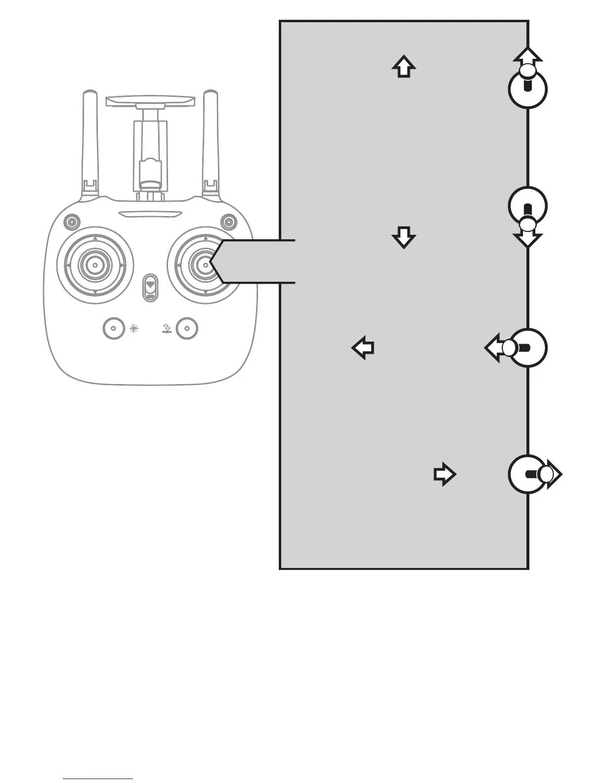
Poussez le Joystick vers le
haut, le drone va de l’avant.
Poussez le Joystick vers le
bas, le drone va en arrière.
Tourner le Joystick vers la
gauche, Le drone tourne à
gauche
Tourner le Joystick vers la
droite, Le drone tourne à
droite
Joystick droit