EasyManua.ls Logo

Ariel JGM - Divider Valve System

Default Icon
178 pages
Print Icon
To Next Page IconTo Next Page
To Next Page IconTo Next Page
To Previous Page IconTo Previous Page
To Previous Page IconTo Previous Page
Loading...
Inlet Block
Intermediate
Blocks
Discharge Port
(Outlet) Correct Port
Position is Off-Center
Toward Inlet Block
End Block
Inlet
Cross
Port Plate
Divider Valve
Block
Piston
O-Rings
Check Valve
Tie Rod
Distribution Block Divider
Valve - Cap Screw
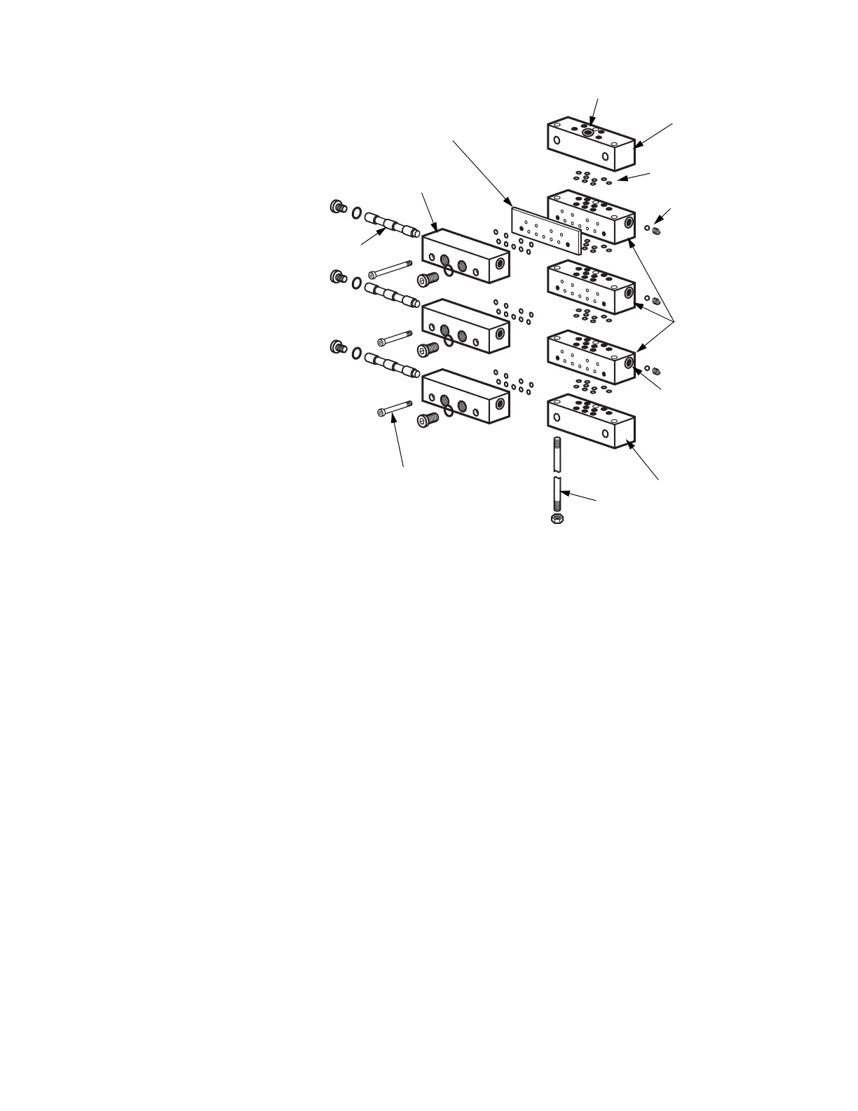
FIGURE 4-12 DIVIDER VALVES DISTRIBUTION BLOCK -
TYPICAL
FOR MODELS: JGI, JGM, JGN, JGP AND JGQ SECTION 4 LUBRICATION
PAGE 4-34 9/08
Divider Valves
NOTE: REFER TO PARTS
BOOK FOR THE
FRAME BEING SER-
VICED FOR ASSEM-
BLY DRAWINGS,
PARTS LIST AND
REPAIR KITS THAT
ARE AVAILABLE FOR
DIVIDER VALVES.
Description
Divider valves are comprised of
three to eight valve blocks fas-
tened to a segmented baseplate.
O-rings are used to seal be-
tween the valve blocks and the
base plate and between the
base plate segments. These di-
vider valves are used in a single
line, progressive lubrication sys-
tem and can be used for dis-
pensing oil or grease. Valves
and base plate segments are
supplied with Viton O-rings (90 Durometer).
Check valves are installed at the outlets of all lube ports.
Valve blocks containing metering pistons discharge a predetermined amount of lubricant with
each cycle. Valve blocks can be single or twin and can be externally singled or cross-ported.
Outlets not to be used when singling or cross-porting must be plugged.
A by-pass block can be used in any position on the base plate. The use of a by-pass block
allows the addition or deletion of lubrication points without disturbing existing tubing. Both out-
lets under a by-pass block must be plugged.
The valve blocks and by-pass blocks are fastened to a base plate mounted on the machine
to be lubricated. The base plate contains the divider valve's inlet and outlet connections, in-
terrelated passageways and built-in check valves. All piping of lubricant to and from the di-
vider valve is connected to the base plate.
The base plate consists of one inlet block, three to eight intermediate blocks, one end block
and three tie rods. O-ring seals are included with the base plate segments. The valve block
capacity of each base plate is dependent upon the number of intermediate blocks in the base-
plate. There must be a minimum of three working valves on each valve and base plate as-
sembly.

Table of Contents

Related product manuals