EasyManua.ls Logo

ARTEX DGL-1 - 24-Bit Address Switch Block; Switch Block Configuration

ARTEX DGL-1
30 pages
Print Icon
To Next Page IconTo Next Page
To Next Page IconTo Next Page
To Previous Page IconTo Previous Page
To Previous Page IconTo Previous Page
Loading...
ARTEX PRODUCTS / ACR ELECTRONICS, INC.
DESCRIPTION, OPERATION, INSTALLATION AND MAINTENANCE MANUAL
DGL-1, DONGLE (453-4010)
570-4010 Rev. G Company Confidential Page 25 of 30
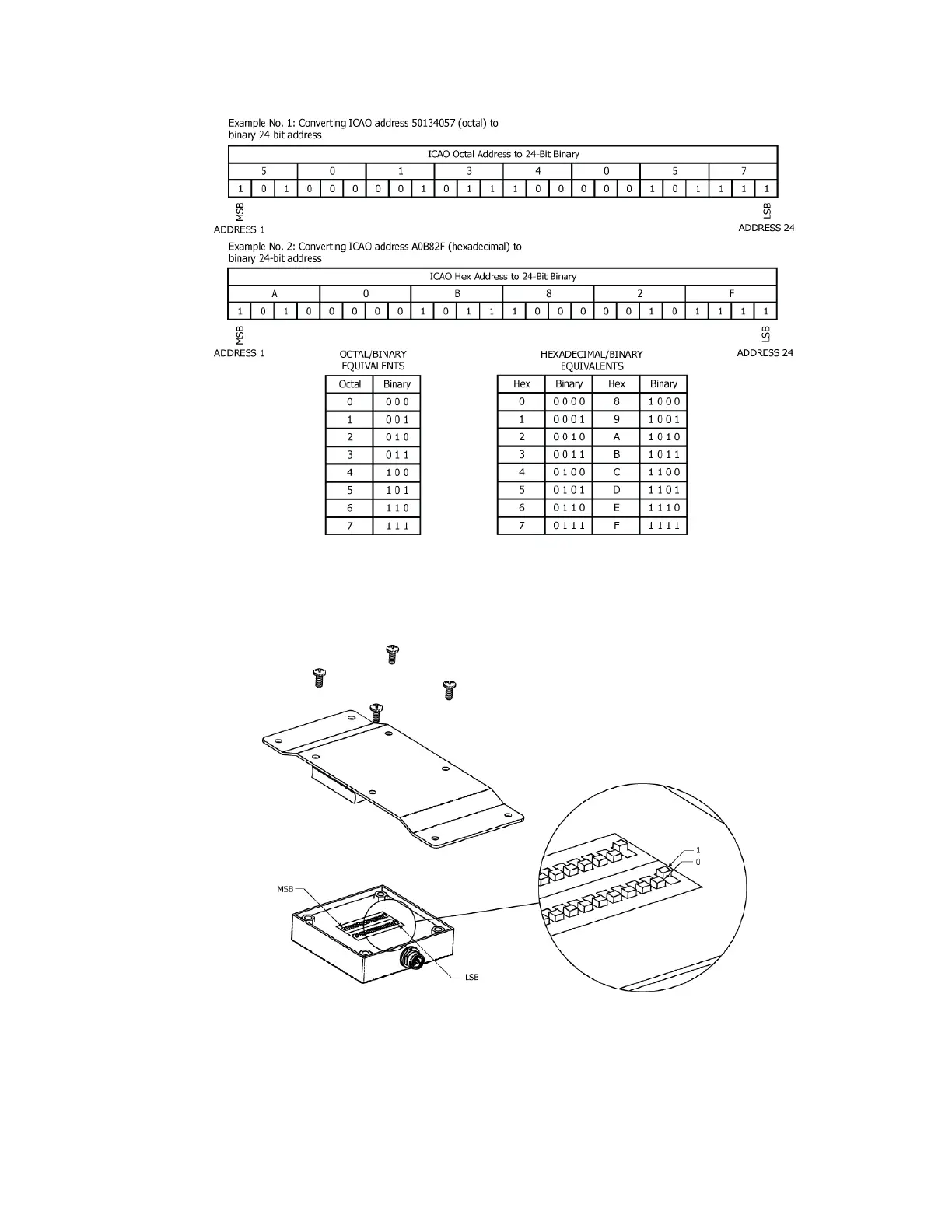
Figure 9 Octal/Hexadecimal to Binary Conversion
5) Set the 24-bit address switch block switches as appropriate for the 24-bit address binary code
determined in the previous step. See Figure 10 24-Bit Address Switch Block on page 25.
6) Install the Dongle in accordance with Dongle Installation on page 20.
Figure 10 24-Bit Address Switch Block
7) Test the installation in accordance with 24-Bit Address Reprogramming Verification Test on page 14.