EasyManua.ls Logo

Atari 1010 - 1010 S Will Not Record

Atari 1010
63 pages
Print Icon
To Next Page IconTo Next Page
To Next Page IconTo Next Page
To Previous Page IconTo Previous Page
To Previous Page IconTo Previous Page
Loading...
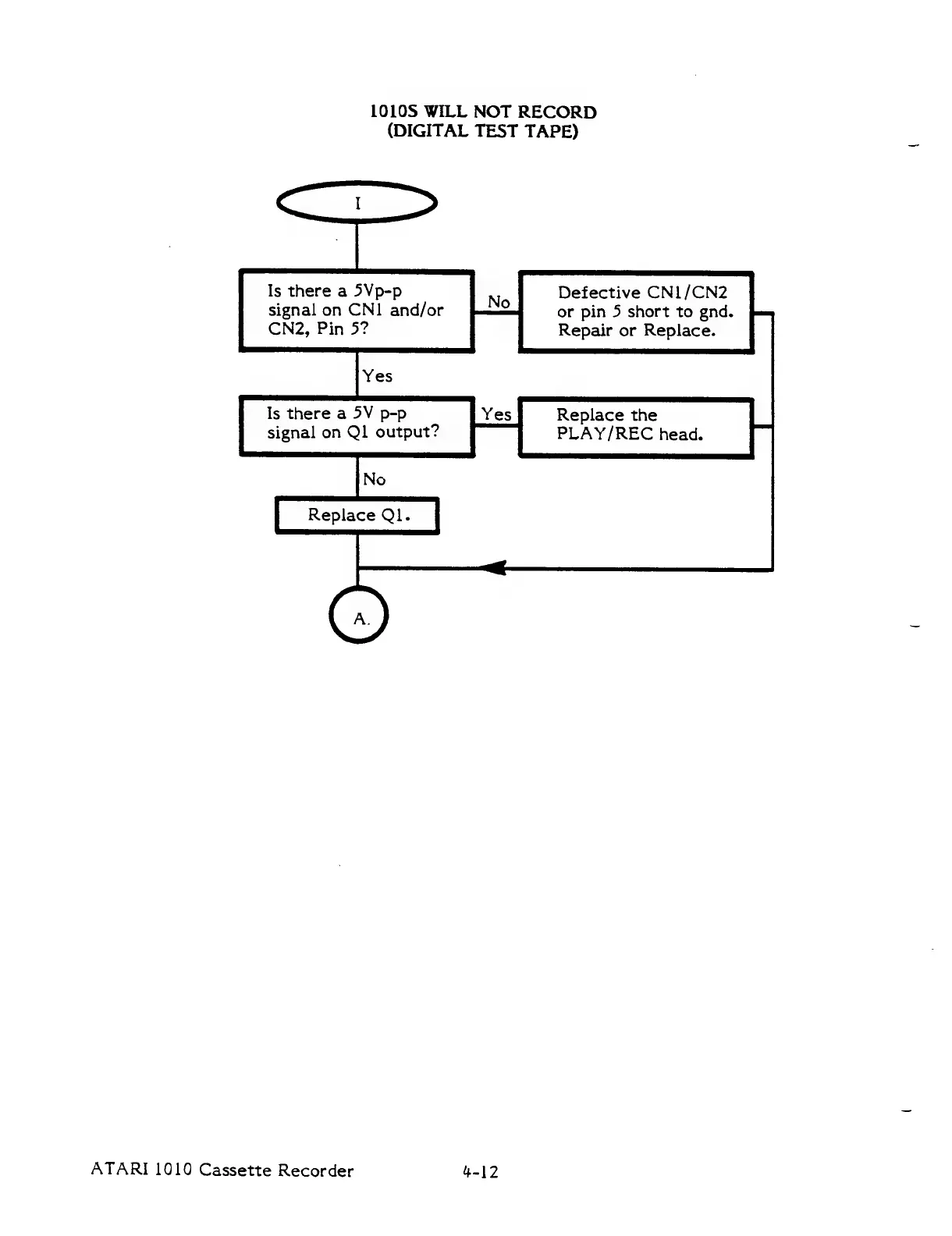
1010S
WILL
NOT
RECORD
(DIGITAL
TEST
TAPE)
Is
there
a
5Vp-p
signal
on
CN1
and/or
CN2,
Pin
5?
Is
there
a
5V
p-p
signal
on
Ql
output?
Replace
Ql.
Defective
CN1/CN2
or
pin
5
short
to
gnd.
Repair
or
Replace.
Replace
the
|
PLAY/REC
head.
ATARI
1010
Cassette
Recorder
4-12