EasyManua.ls Logo

Atari 800 - Page 103

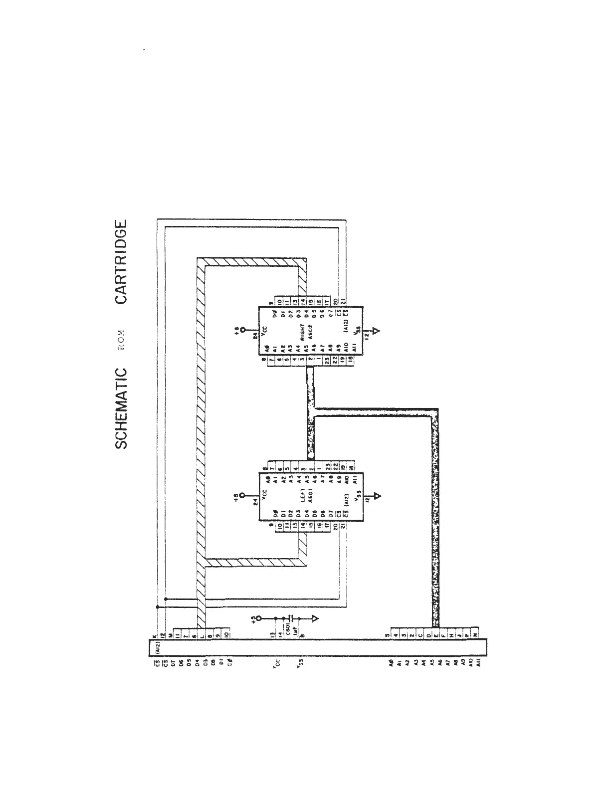
Atari 800
113 pages
Print Icon
To Next Page IconTo Next Page
To Next Page IconTo Next Page
To Previous Page IconTo Previous Page
To Previous Page IconTo Previous Page
Loading...
w
<!)
0
a::
1-
a::
<(
(.)
u
-
I-
<(
:E
w
:I:
u
(/)
w!:!
:al:l
..
l
..
I g
" " " " " " " " " "
t'\
1'\
['\
I'-
t'\
t'\
t'\
·121:1~
~
!!l!!l!::l210:
['\
~
Q
~::::
~
f~~
['\
:o--;
....
N
['\
J!
: 0
~JI
"'~
...
i c
['\
__
..
,
..
.,
......
2:
cccccccccccc
1'.
.,
..
,.,
..
,
....
..
-1:::1::!!!
!!!
"
1'.
1'.
1'.
·.
!'\
'
'
'
"
"'
"
r~
'
-1
...
1
..
1
..
1 ....
..
-I
:::1::!!
!!I
'
:c::::::::~:i
'
"
;o--;
~
,__
..
..
0
j:=
-
..
['.
~
>
..
~
t\
! Q
~:;:
~
~!
~
f~l~
t\
•121=r~
:! !!!)!!!lt:l2;;;
t\
I'-
['.
1"'\
~
""""""""""
t\
t\
f'.
1"'\
·-
II
...
+
~f!l~
~
..
J
..
1
..
121
b-1>
-
..
~
'
.
..
r.J.,1
..
lula
.....
f.,J
..
I
...
Izl
I

Other manuals for Atari 800

Related product manuals