EasyManua.ls Logo

Atlantic CMG-BD0 - Page 21

Atlantic CMG-BD0
28 pages
Print Icon
To Next Page IconTo Next Page
To Next Page IconTo Next Page
To Previous Page IconTo Previous Page
To Previous Page IconTo Previous Page
Loading...
UK
21
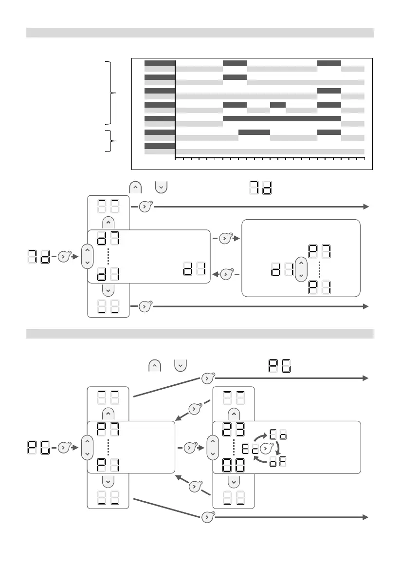
ПРОГРАМИ НА КОЖЕН ДЕНЬ ТИЖНЯ
На приладі попередньо встановлено 7 програм. За замовчуванням, програми
вже призначені на кожен день тижня:
Понеділок
d1
P1
P1
Комфорт
18ч
Еко
21ч
Вівторок
d2
P2
Комфорт
Еко
Середа
d3
P3
Комфорт
18ч
Еко
21ч
Четвер
d4
P4
Комфорт
12ч
18ч
Еко
14ч
21ч
П'ятниця
d5
P5
Комфорт
Еко
0ч
21ч
Субота
d6
P6
P6
Комфорт
18ч
Еко
12ч
21ч
Неділя
d7
P7
Комфорт
Еко
12ч
18ч
24ч
Ви можете змінити призначення цих програм на потрібний вам день.
Використовуючи кнопки та , оберіть параметр .
Повторіть ці дії для вибору програми на інші дні тижня.
НАЛАШТУВАННЯ ПРОГРАМ
Ви можете змінити 7 попередньо встановлених програм. Для кожної програми
(від P1 до P7) ви можете вибрати режим роботи погодинно (від 0 до 23 годин).
Використовуючи кнопки та , оберіть параметр .
Повторіть ці дії для налаштування інших програм.
Виберіть програму від P1
до P7 на обраний день
Виберіть день для
програмування
наприклад
понеділок
Оберіть
програму
Оберіть режим
роботи для
кожної години