EasyManua.ls Logo

Atlas Copco GA 11 VSD MED - Page 91

Atlas Copco GA 11 VSD MED
104 pages
To Next Page IconTo Next Page
To Next Page IconTo Next Page
To Previous Page IconTo Previous Page
To Previous Page IconTo Previous Page
Loading...
Currents and fuses
Type Supply
voltage (V)
Frequenc
y (Hz)
Approv
al
Current (A) (1) Q2 (A) Protection
(A) (2)
GA 5 VSD MED 400 50 IEC 20.9 1.9 32
GA 5 VSD MED 380 60 IEC 20.9 1.9 32
GA 7 VSD MED 400 50 IEC 24.3 1.9 32
GA 7 VSD MED 380 50 IEC 24.3 1.9 32
GA 11 VSD MED 400 50 IEC 36.3 1.9 40
GA 11 VSD MED 380 60 IEC 36.3 1.9 40
GA 15 VSD MED 400 50 IEC 45.3 1.9 50
GA 15 VSD MED 380 60 IEC 45.3 1.9 50
(1): current in the supply lines at maximum load and nominal voltage
(2): rating of motor circuit breaker with thermomagnetic release characteristic D with residual current device
(to be installed by customer).
Q2: fan motor overload setting
NOTE: The supply line cable delivered with the compressor MUST be protected by raceway or by a suitable
conduit system.
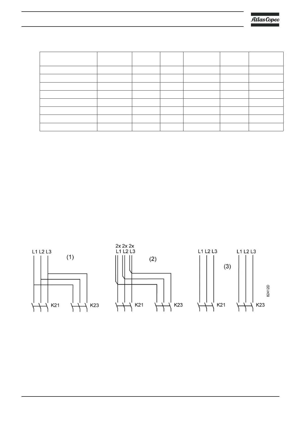
Possible configurations
There are 3 possible configurations:
(1): Single supply cables. (For DOL and VSD versions, only K21 is used).
(2): Parallel supply cables
(3) is only valid for Y-D versions
Cable sizing according IEC
The tables below indicate the current carrying capacities of cables for 3 commonly used installation methods,
calculated according to standard 60364-5-52 - electrical installations of buildings part 5 - selection and erection
equipment and section 52 - current carrying capacities in wiring systems.
The allowed currents are valid for PVC insulated cables with three loaded copper conductors (maximum
conductor temperature 70 °C).
Instruction book
2920 7104 10 89

Table of Contents

Related product manuals