EasyManua.ls Logo

Avalon Rainier 990 - Monthly Maintenance; Door and Glass Inspection; Check for Creosote Buildup

Avalon Rainier 990
44 pages
Print Icon
To Next Page IconTo Next Page
To Next Page IconTo Next Page
To Previous Page IconTo Previous Page
To Previous Page IconTo Previous Page
Loading...
30 Maintaining Your Appliance
Travis Industries 100-01140 4020628
Monthly Maintenance (while appliance is in use)
Make sure the appliance has fully cooled prior to conducting service.
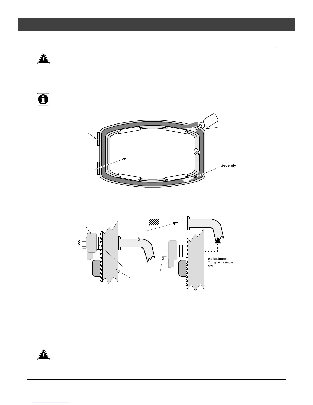
Door and Glass Inspection
The door must form an air-tight seal to the firebox for the stove to work correctly. Inspect the door
gasket to make sure it forms an air-tight seal to the firebox.
The door can be lifted off the hinges if extensive repairs are conducted.
AA
AA
AA
AA
Severely frayed or thread-bare
gasket should be replaced.
Use wood stove gasket
cement to re-adhere
loose gasket.
If the glass is damaged, replace
it - see Replacement Parts for
details.
High-Temperature anti-sieze
may be used on the door
hinges to eliminate squeaks.
The door latch should pull the door against the face of the stove (but not so tight as to not allow full
handle rotation). If the latch requires adjustment, follow the directions below.
Door Cam
Door
Handle
Washers
Door Frame
Use a 9/16"
socket wrench to
remove this nut.
Side View of Door Handle
Door Cam
Adjustment:
To tighten, remove
a washer from the
inside of the door
frame. To loosen,
place an additional
washers on the
inside of the door
frame or loosen
the nut 1/2 turn.
Exploded View
Creosote - Formation and Need for Removal
When wood is burned slowly, it produces tar and other organic vapors, which combine with expelled
moisture to form creosote. The creosote vapors condense in the relatively cool chimney flue of a slow-
burning fire. As a result, creosote residue accumulates on the flue lining. When ignited, this creosote
makes an extremely hot fire. The chimney and chimney connector should be inspected at least once
every two months during the heating season to determine if a creosote buildup has occurred. If
creosote has accumulated, it should be removed to reduce the risk of a chimney fire.
If you are not certain of creosote inspection, contact your dealer or local chimney sweep for a full
inspection. Excess creosote buildup may cause a chimney fire, that may result in property damage,
injury, or death.

Table of Contents

Related product manuals