EasyManua.ls Logo

Avery Dennison ALS 330 - Page 14

Avery Dennison ALS 330
95 pages
Print Icon
To Next Page IconTo Next Page
To Next Page IconTo Next Page
To Previous Page IconTo Previous Page
To Previous Page IconTo Previous Page
Loading...
Operators Manual
ALS 330/430
Release 8/07 Page 12 Description
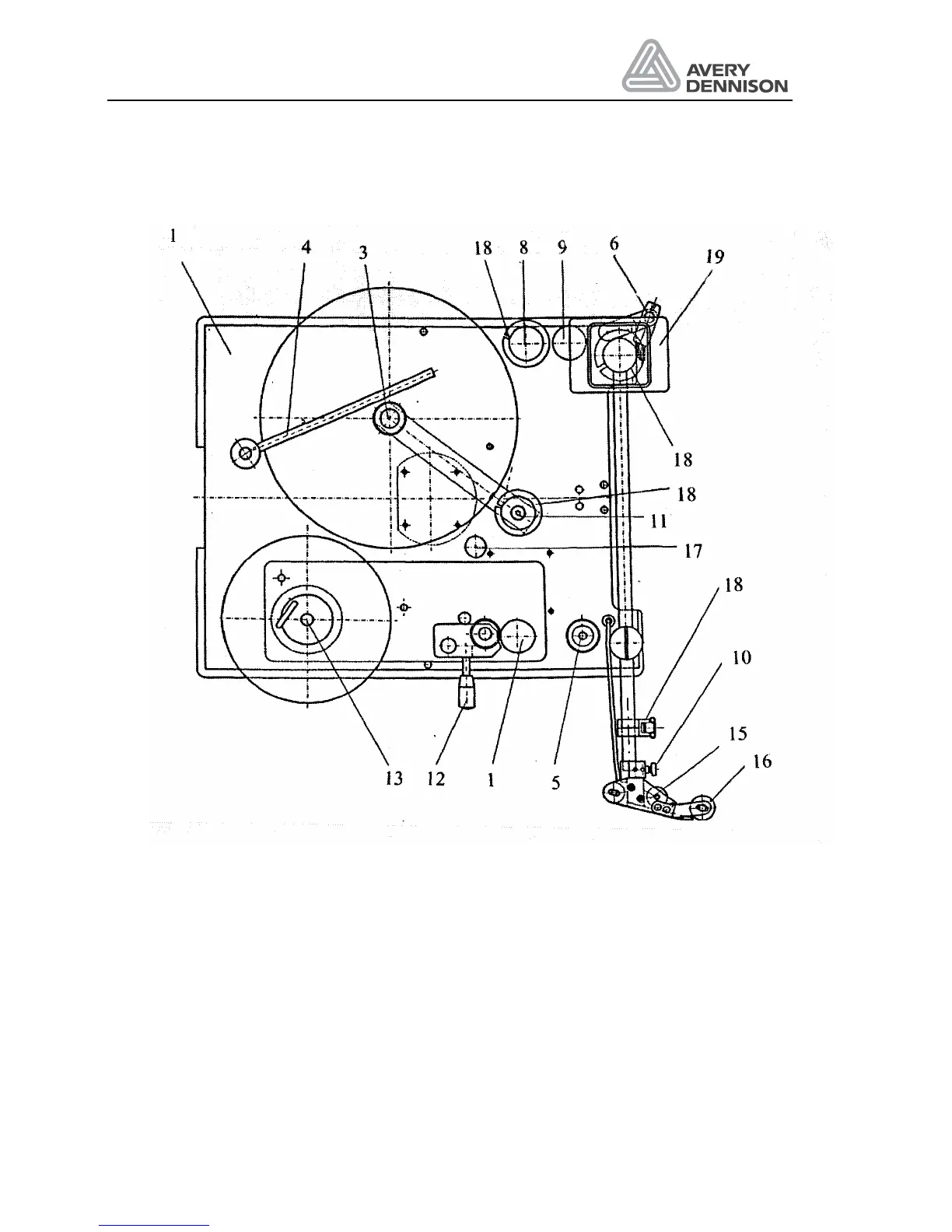
Figure 1 Machine layout
Apart from the drive roller (1), and the material brush (6) the labeller has no mechanical
wearing parts.
The operator panel (19) is described in the next section of this chapter.

Table of Contents

Related product manuals