EasyManua.ls Logo

Awenta CM - Page 31

Awenta CM
Print Icon
To Next Page IconTo Next Page
To Next Page IconTo Next Page
To Previous Page IconTo Previous Page
To Previous Page IconTo Previous Page
Loading...
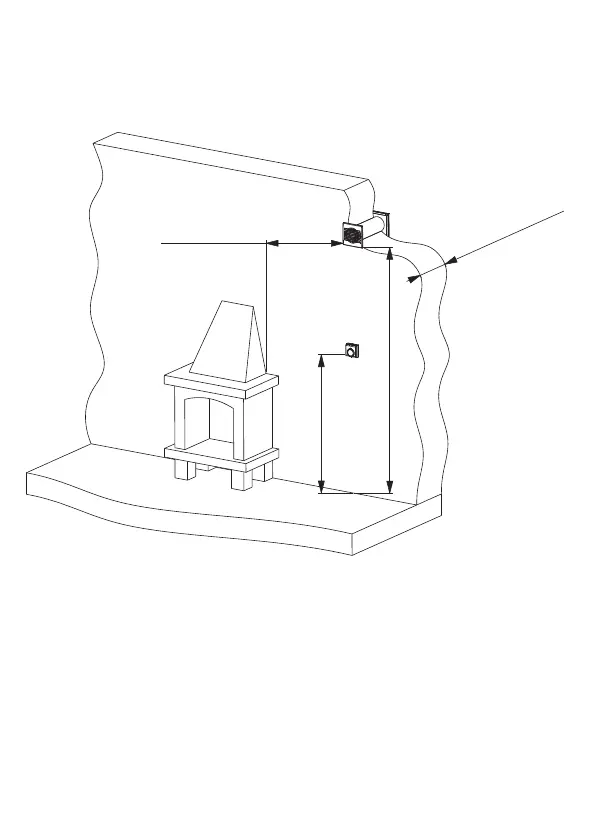
Rys. 5
Fig. 5
Изобр. 5
Obr. 5
min. 50cm
min. 1,5m
min. 2,3m
min. 100mm
max. 300mm
31

Related product manuals