EasyManua.ls Logo

Axis 01809-031 - Page 5

Axis 01809-031
24 pages
Print Icon
To Next Page IconTo Next Page
To Next Page IconTo Next Page
To Previous Page IconTo Previous Page
To Previous Page IconTo Previous Page
Loading...
AXISP13NetworkCameraSeries
Productoverview
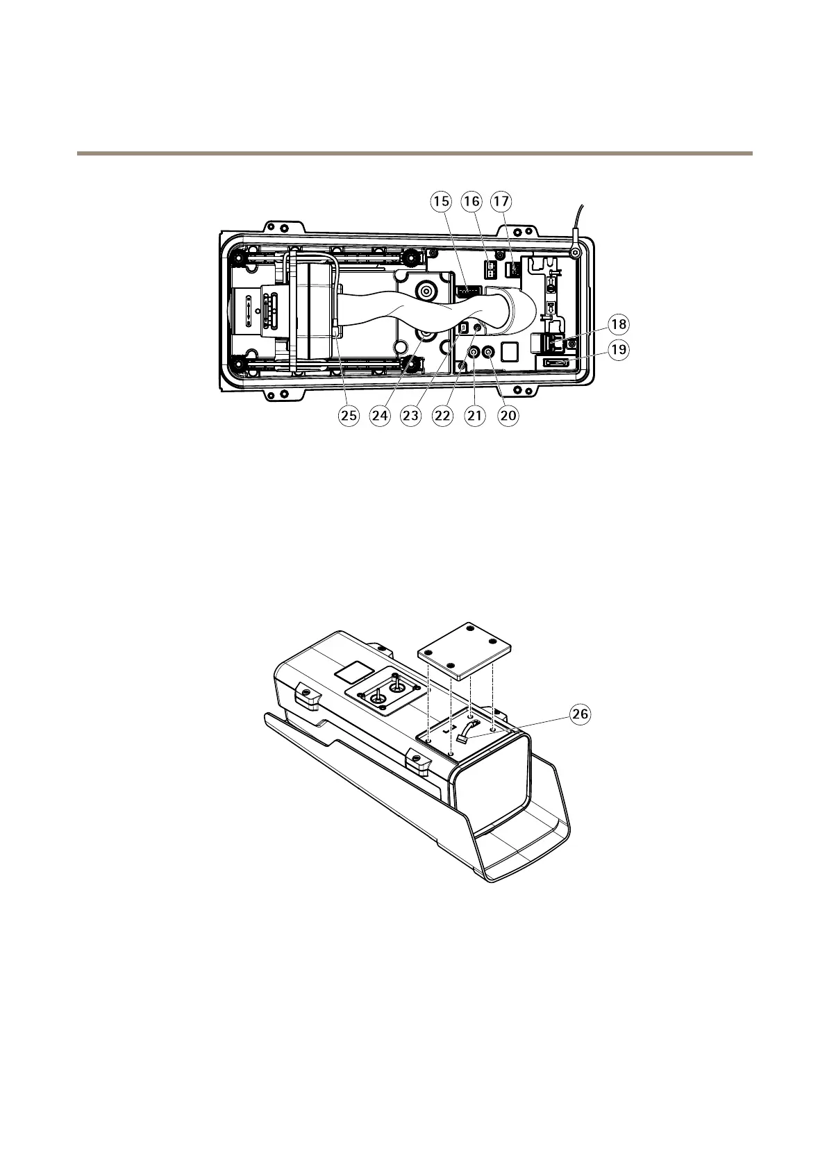
15
I/Oconnector
16
RS485/422connector
17
Powerconnector
18
Networkconnector(PoE)
19
microSDcardslot
20
Audioin
21
Audioout
22
Controlbutton
23
StatusLED
24
CablegasketM20(2x)
25
Irisconnector
26
Illuminatorconnector(AXISP1375-E)
4

Related product manuals