EasyManua.ls Logo

Axminster ATDP13B - Wiring Diagram

Axminster ATDP13B
32 pages
Print Icon
To Next Page IconTo Next Page
To Next Page IconTo Next Page
To Previous Page IconTo Previous Page
To Previous Page IconTo Previous Page
Loading...
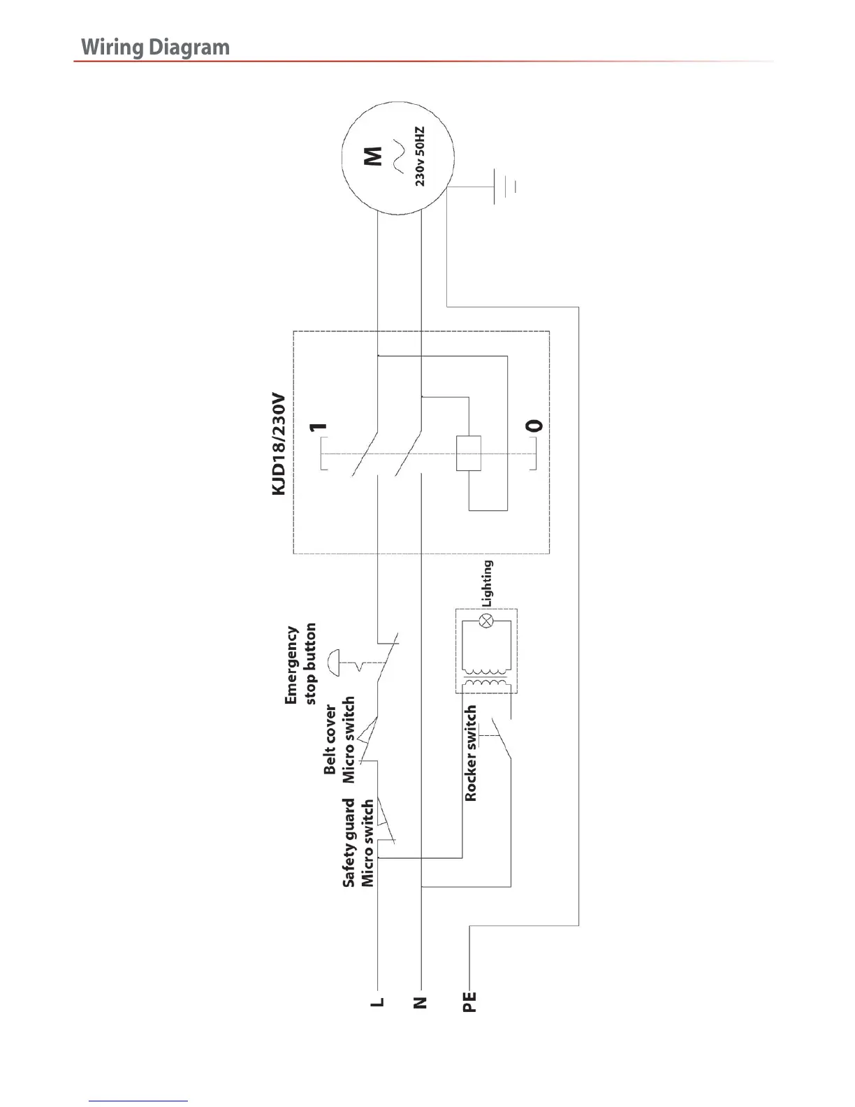
Wiring Diagram
28

Related product manuals