EasyManua.ls Logo

B&C Technologies HE-45 - 4.5 Mounting Bolt Installation; 4.5.1 HE-35 Mounting Bolt Installation

Default Icon
49 pages
Print Icon
To Next Page IconTo Next Page
To Next Page IconTo Next Page
To Previous Page IconTo Previous Page
To Previous Page IconTo Previous Page
Loading...
4.5 Mounting Bolt Installation
4.5.1 HE-35 Mounting Bolt Installation
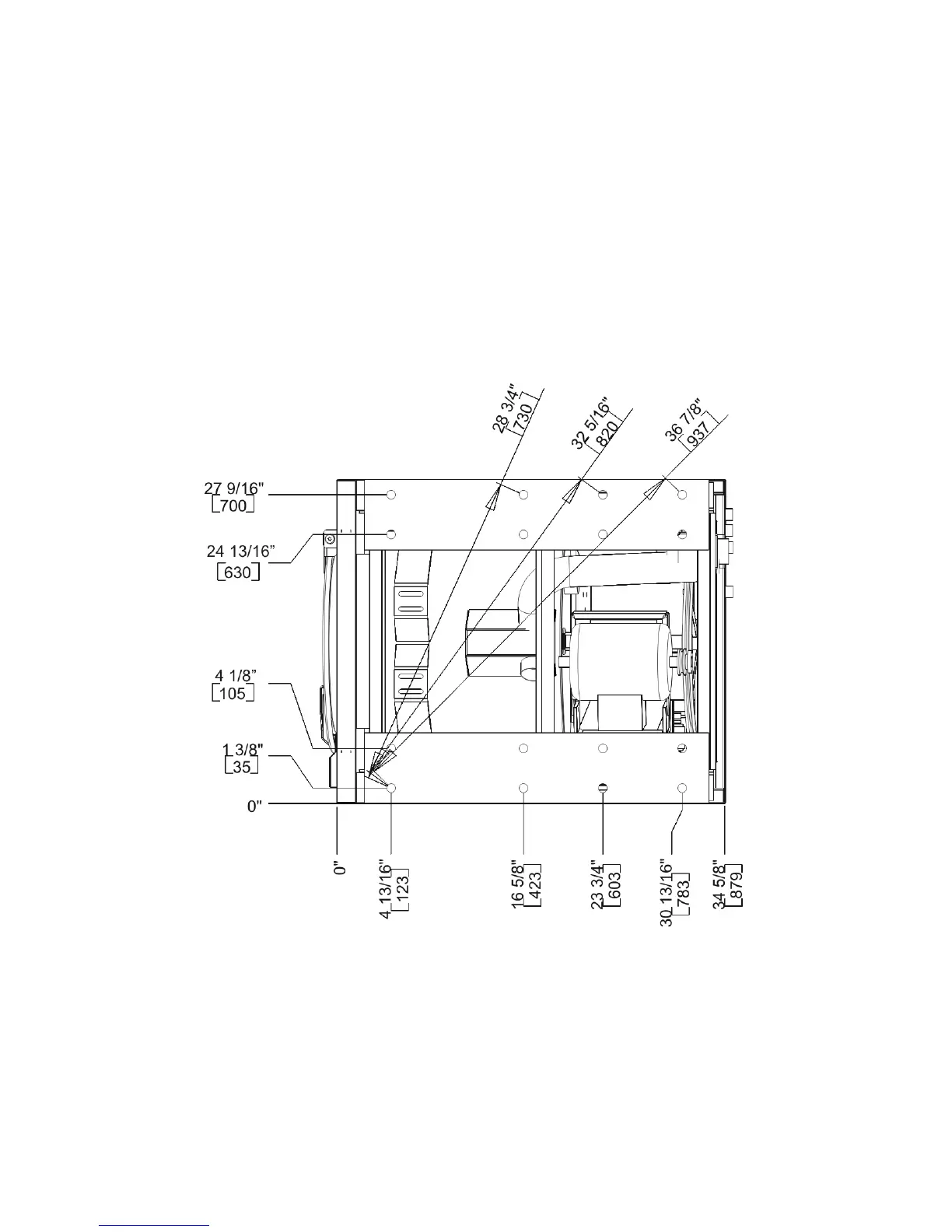
The HE-35 uses 1/2-13 x 8”’ bolts. Embed the bolts in 3500 psi reinforced concrete with a minimum
of 6”’ thickness. The threaded end of the bolt should extend 2 inches from the surface of the
floor. Use the outboard bolt holes for standard installation, the inboard bolt holes for side by side
installations, or installations near a wall or other object that would prevent access to the outboard
holes. Refer to figure 4.6 on page 20.
Figure 4.6: HE-35 Mounting Detail
20

Related product manuals