EasyManua.ls Logo

barigo E7S - Navigation in Normal Mode (Watch Mode)

barigo E7S
124 pages
Print Icon
To Next Page IconTo Next Page
To Next Page IconTo Next Page
To Previous Page IconTo Previous Page
To Previous Page IconTo Previous Page
Loading...
BARIGO E7/E7S
24
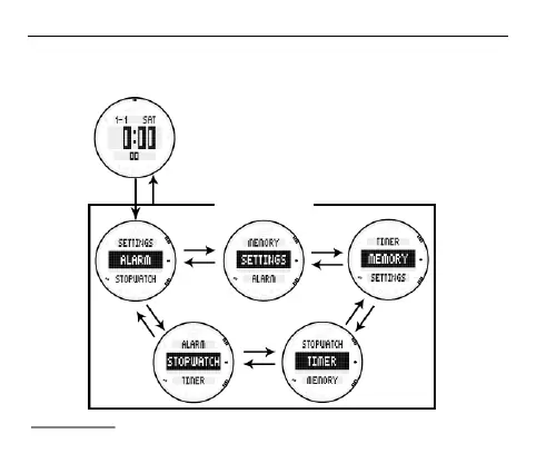
3.2 Navigation in normal mode (watch mode)
Keep S4
pressed
down
Display menu
S1
S1
S1
S1
S1
S3
S3
S3
S3
S3
S4

Table of Contents

Related product manuals