EasyManua.ls Logo

Barnstead 47900 - Single Ramp & Dwell

Default Icon
60 pages
Print Icon
To Next Page IconTo Next Page
To Next Page IconTo Next Page
To Previous Page IconTo Previous Page
To Previous Page IconTo Previous Page
Loading...
16
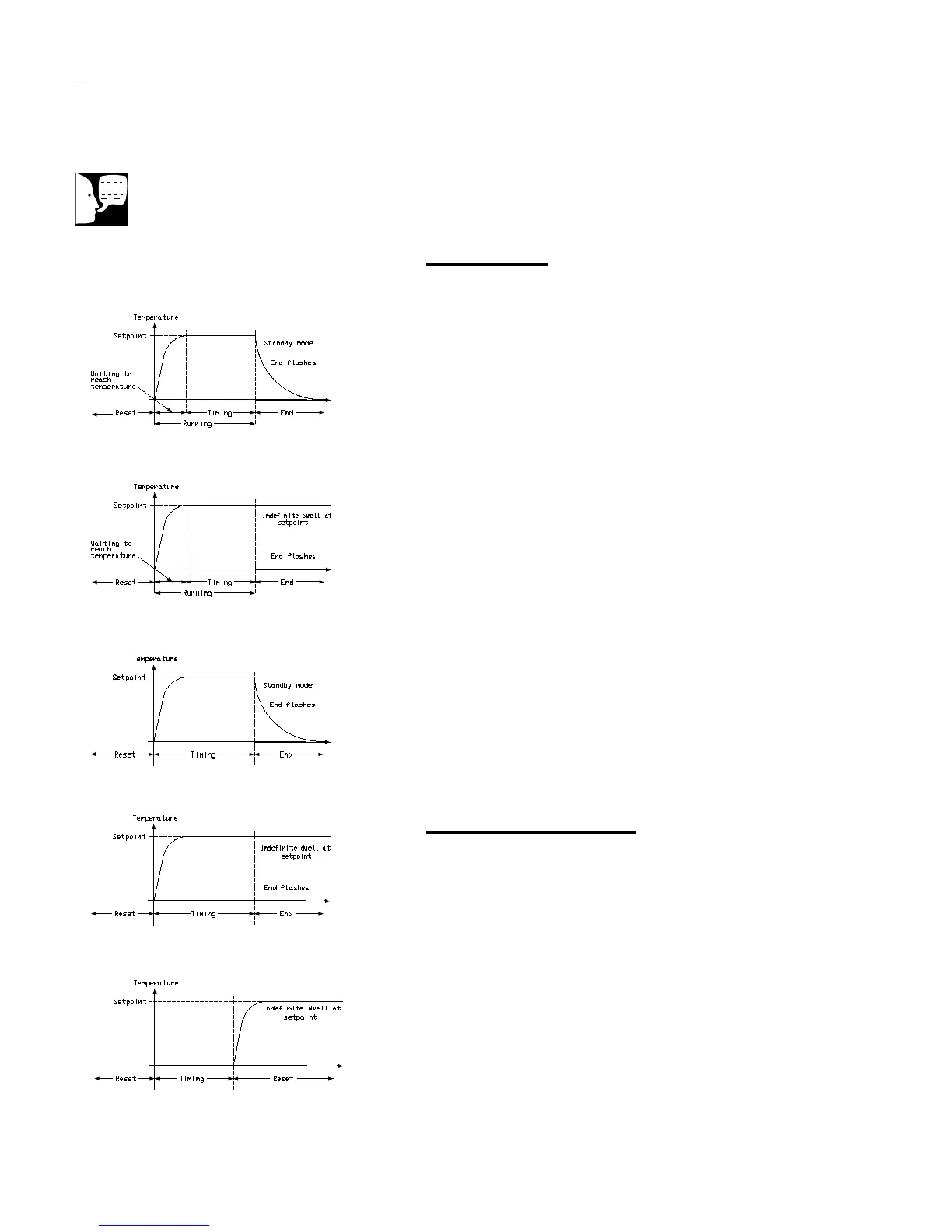
Functions
This type of controller has single ramp and dwell
programming capabilities. The Ramp and Dwell
can be configured to five different modes.
1. Mode 1 (Opt. 1) is a Ramp (if needed) to
the Setpoint temperature, a Dwell, and
then a cool down.
2. Mode 2 (Opt. 2) is the same as mode 1,
except the controller continues to heat at
the Setpoint after the Dwell has complet-
ed. (This mode does not cool down.)
3. Mode 3 (Opt. 3) is the same as mode 1,
except the Dwell time includes the Ramp
(if needed).
4. Mode 4 (Opt. 4) is the same as mode 2,
except the Dwell time includes the Ramp
(if needed).
5. Mode 5 (Opt. 5) is a Dwell (delay time)
before the controller Ramps (if needed)
to the Setpoint temperature.
Setting Variables
The Manual or Automatic modes can be
set by changing “m-A” variable to “mAn”
or “Auto.” (The Manual mode will keep
the controller from heating without setting
the Setpoint temperature below the
Actual temeperature. The Automatic
mode will allow the controller to heat to
the Setpoint temperature. (The controller
should be left in the Automatic mode
except when programming.)
•Aprogram mode can be set by changing
the “tm.OP” variable to “Opt. 1, Opt. 2,
Opt. 3, Opt. 4, or Opt. 5.
Single Ramp & Dwell
Note
These instructions are used with the Single Setpoint models with OTP only
(See models listed on front page).
Mode 1 (Opt. 1)
Mode 2 (Opt. 2)
Mode 3 (Opt. 3)
Mode 4 (Opt. 4)
Mode 5 (Opt. 5)

Related product manuals