EasyManua.ls Logo

Baumatic BHC900 - Page 20

Baumatic BHC900
28 pages
Print Icon
To Next Page IconTo Next Page
To Next Page IconTo Next Page
To Previous Page IconTo Previous Page
To Previous Page IconTo Previous Page
Loading...
20
o IMPORTANT: You must observe the ventilation requirements
shown in the drawing above.
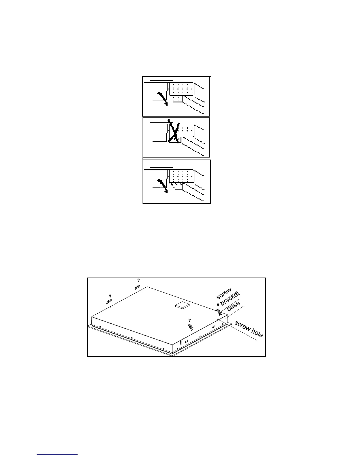
o IMPORTANT: There are ventilation holes around the
outside of the hob. YOU MUST ensure that these holes are
not blocked by the work top, when you put the hob into
position (see drawing below).
o Carefully turn the hob upside down and place it on a cushioned
mat.
o IMPORTANT: Do not use a silicon sealant to seal the appliance
against the aperture. This will make it difficult to remove the hob
from the aperture in future, particularly if it needs to be
serviced.
o Carefully turn the hob back over and then gently lower it into the
aperture hole that you have cut out.

Related product manuals