EasyManua.ls Logo

Baumatic BM90S - Page 16

Baumatic BM90S
24 pages
Print Icon
To Next Page IconTo Next Page
To Next Page IconTo Next Page
To Previous Page IconTo Previous Page
To Previous Page IconTo Previous Page
Loading...
16 Baumatic BM90S 900mm Built-In Oven User Manual
Oven Functions
Baking Mode 1950-2276W
The rear heating element and the fan come on, guaranteeing delicate heat distributed uniformly throughout
the oven. This mode is ideal for baking and cooking delicate foods-especially cakes that need to rise-and for the
preparation of certain tartlets on 3 shelves at the same time. Here are a few examples: cream puffs, sweet and
savory biscuits, savory puffs, Swiss rolls and small portions of vegetables au gratin, etc...
“Defrosting” Mode 70-87W
The fan located on the bottom of the oven makes the air circulate at room temperature around the food. This is
recommended for the defrosting of all types of food, but in particular for delicate types of food which do not require
heat, such as for example: ice cream cakes, cream or custard desserts, fruit cakes. By using the fan, the
defrosting time is approximately halved. In the case of meat ,fish and bread, it is possible to accelerate the process
using the “Baking” mode and setting the temperature to 80°C-100°C.
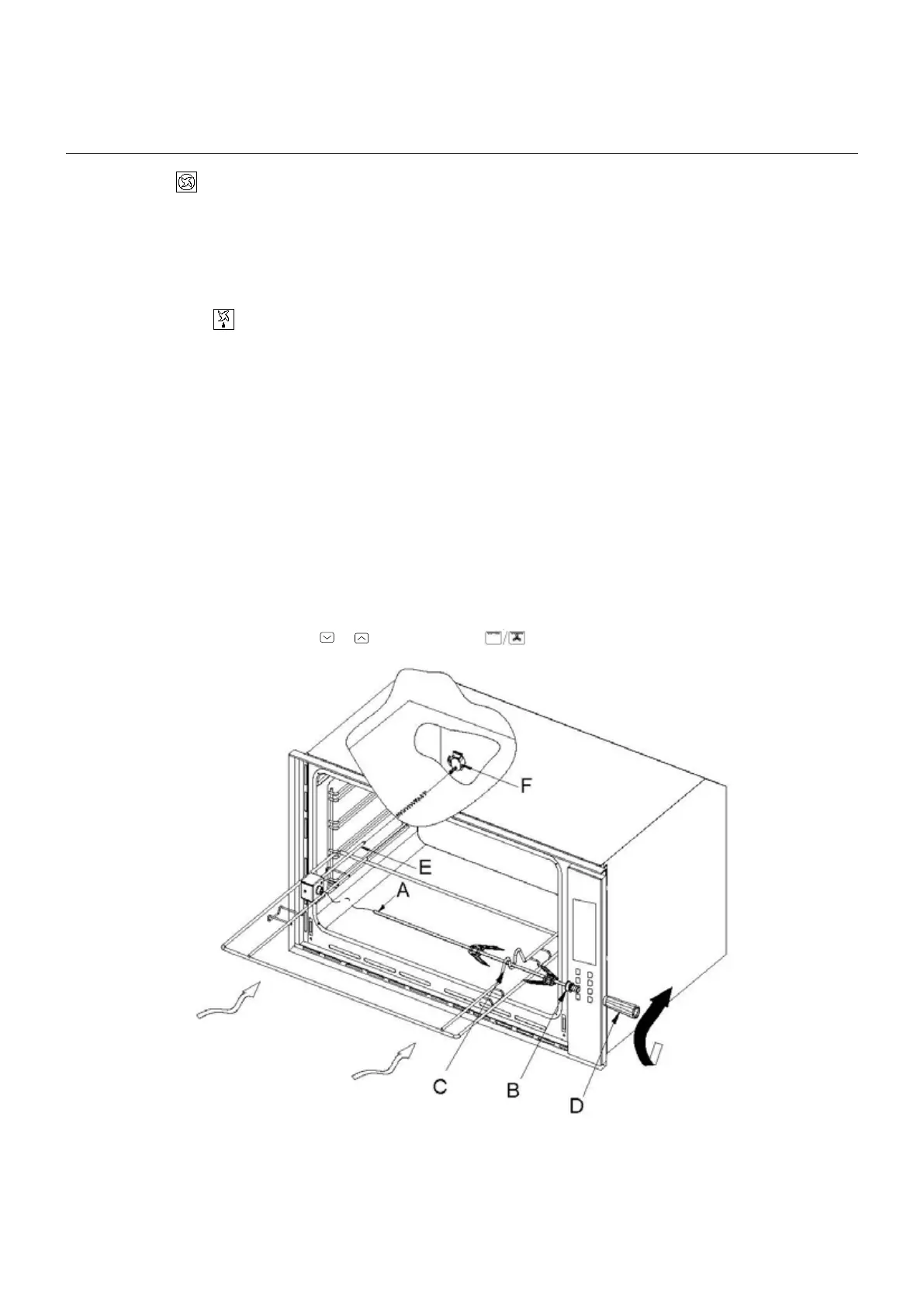
The rotisserie (only available on certain models)
To start the turnspit, proceed as follows:
Insert the rotisserie rod “A” into the drive unit and groove “B” into bend “C”;
Turn the plastiv handle “D” anti clockwise and slide the rack into the oven runners ensuring that the rod “E”
slots into the hole “F”;
The rotisserie rack must always be fitted in the middle of the oven (second position from bottom);
Press the Oven function selection or to select setting .
Cooling ventilation
In order to cool down the exterior of the appliance, this model is equipped with a cooling fan, which comes on
automatically when the oven is hot.
When the fan is on, a normal flow of air can be heard exiting between the oven door and the control panel.
Note: When cooking is done, the fan stays on until the oven cools down sufficiently.

Related product manuals