EasyManua.ls Logo

Baumatic BR105 - Fitting the Furniture Door to the Appliance

Baumatic BR105
32 pages
Print Icon
To Next Page IconTo Next Page
To Next Page IconTo Next Page
To Previous Page IconTo Previous Page
To Previous Page IconTo Previous Page
Loading...
23
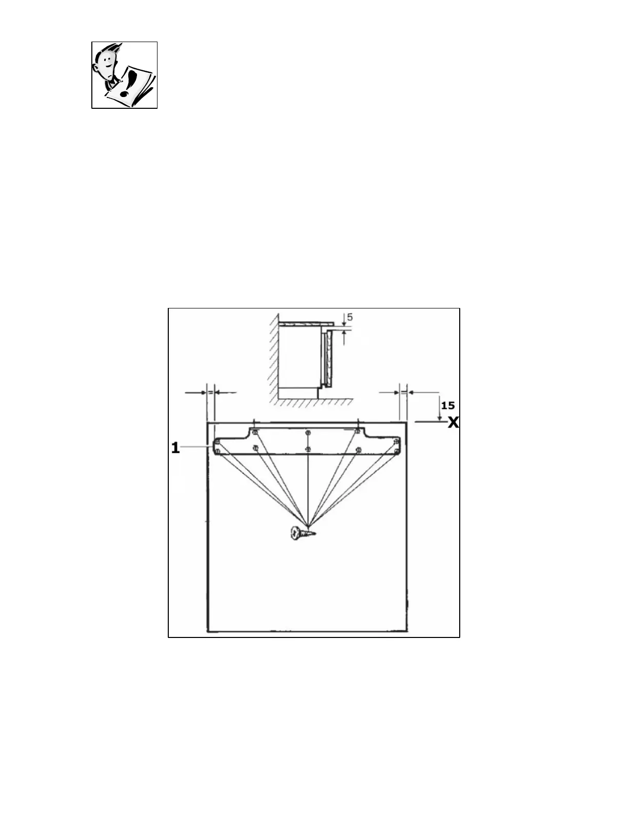
itting the furniture door to the appliance
you need the appliance door to open from the other
Tools required:-
o Tape measure
ed screwdriver
IMPORTANT: We recommend that two people install this appliance.
) Undo the screws from the two adjusting bolts that are located on
) Measure the width of the furniture door, at the halfway point mark a
F
If
side, then please reverse the door before commencing the
installation process. (See “Reversing the door section”).
o Sharp pencil
o Small flat blad
o Spanner
a
the top of the appliance door and then remove the mounting bracket
(1).
b
line vertically down the inner surface of the furniture door. You should
draw the line from the top of the furniture door to approximately
halfway down.

Related product manuals