EasyManua.ls Logo

Baumatic BR110 - Fitting the furniture door to the appliance

Baumatic BR110
32 pages
Print Icon
To Next Page IconTo Next Page
To Next Page IconTo Next Page
To Previous Page IconTo Previous Page
To Previous Page IconTo Previous Page
Loading...
23
Fitting the furniture door to the appliance
he
stallation process. (See “Reversing the door” section).
ools required:-
bladed screwdriver
o Spanner
MPORTANT: We recommend that two people install this appliance.
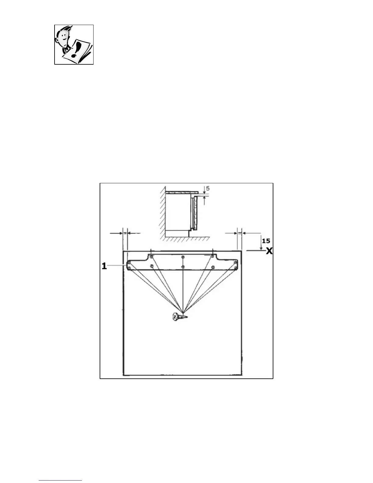
p of the appliance door and then remove the mounting bracket
1).
rom the top of the furniture door to approximately
alfway down.
If you need the appliance door to open from the other
side, then please reverse the door before commencing t
in
T
o Tape measure
o Sharp pencil
o Small flat
I
a) Undo the screws from the two adjusting bolts that are located on
the to
(
b) Measure the width of the furniture door, at the halfway point mark a
line vertically down the inner surface of the furniture door. You should
draw the line f
h

Related product manuals