EasyManua.ls Logo

Baumatic BTC6740SS - Chimney Section Placement and Fixing

Baumatic BTC6740SS
28 pages
Print Icon
To Next Page IconTo Next Page
To Next Page IconTo Next Page
To Previous Page IconTo Previous Page
To Previous Page IconTo Previous Page
Loading...
22
0)
ust ensure that it is perpendicular to the hood.
himney section D.
1) Take
arks that you made in step 9
ring holes that are cut out of the
bracket
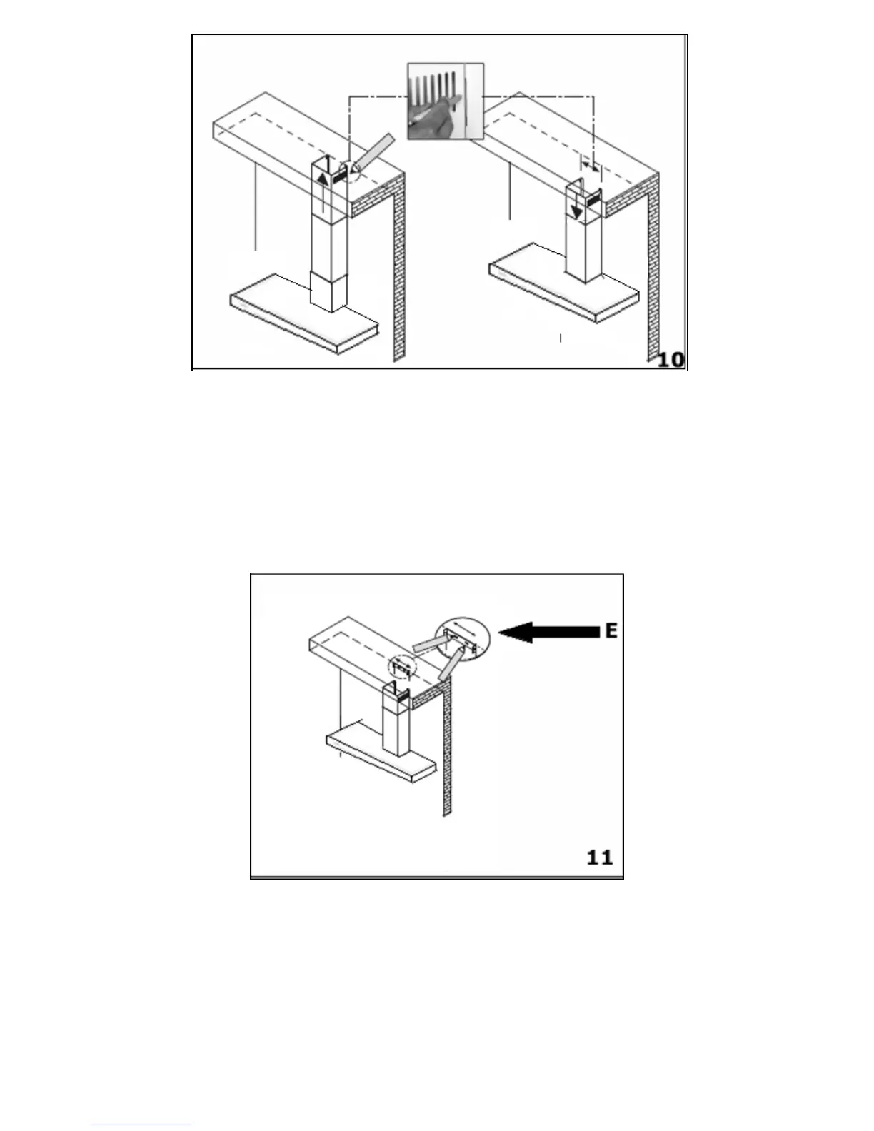
1 Lift chimney section D upwards until it reaches the ceiling. You
m
o Mark the side measurement of both sides of chimney section D
on the wall with a pencil and then remove c
1 the fixing bracket (E) and place it between the two pencil
o Keeping the bracket in contact with the wall, use a pencil to
mark on the wall the ancho
m

Related product manuals