EasyManua.ls Logo

Baumatic BWR1005 - Fitting the Furniture Door

Baumatic BWR1005
44 pages
Print Icon
To Next Page IconTo Next Page
To Next Page IconTo Next Page
To Previous Page IconTo Previous Page
To Previous Page IconTo Previous Page
Loading...
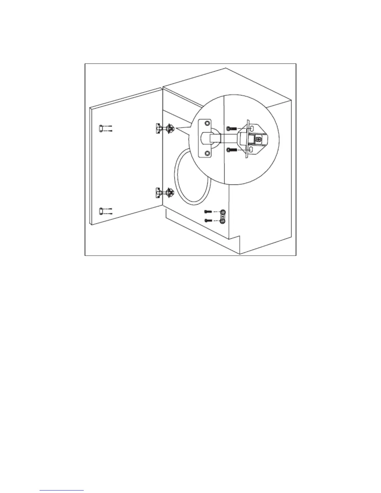
Fitting the furniture door
o Please refer to the building in template for instructions on how to
fit your integrated appliance and connect the furniture door to
the product.
o Mount the furniture door to the cabinet of the washing machine,
using the hinges supplied.
o Fix the magnet assembly to the front of the washing machine
and the furniture door.
37

Related product manuals