EasyManua.ls Logo

Baur PGK 25 - Page 18

Baur PGK 25
24 pages
Print Icon
To Next Page IconTo Next Page
To Next Page IconTo Next Page
To Previous Page IconTo Previous Page
To Previous Page IconTo Previous Page
Loading...
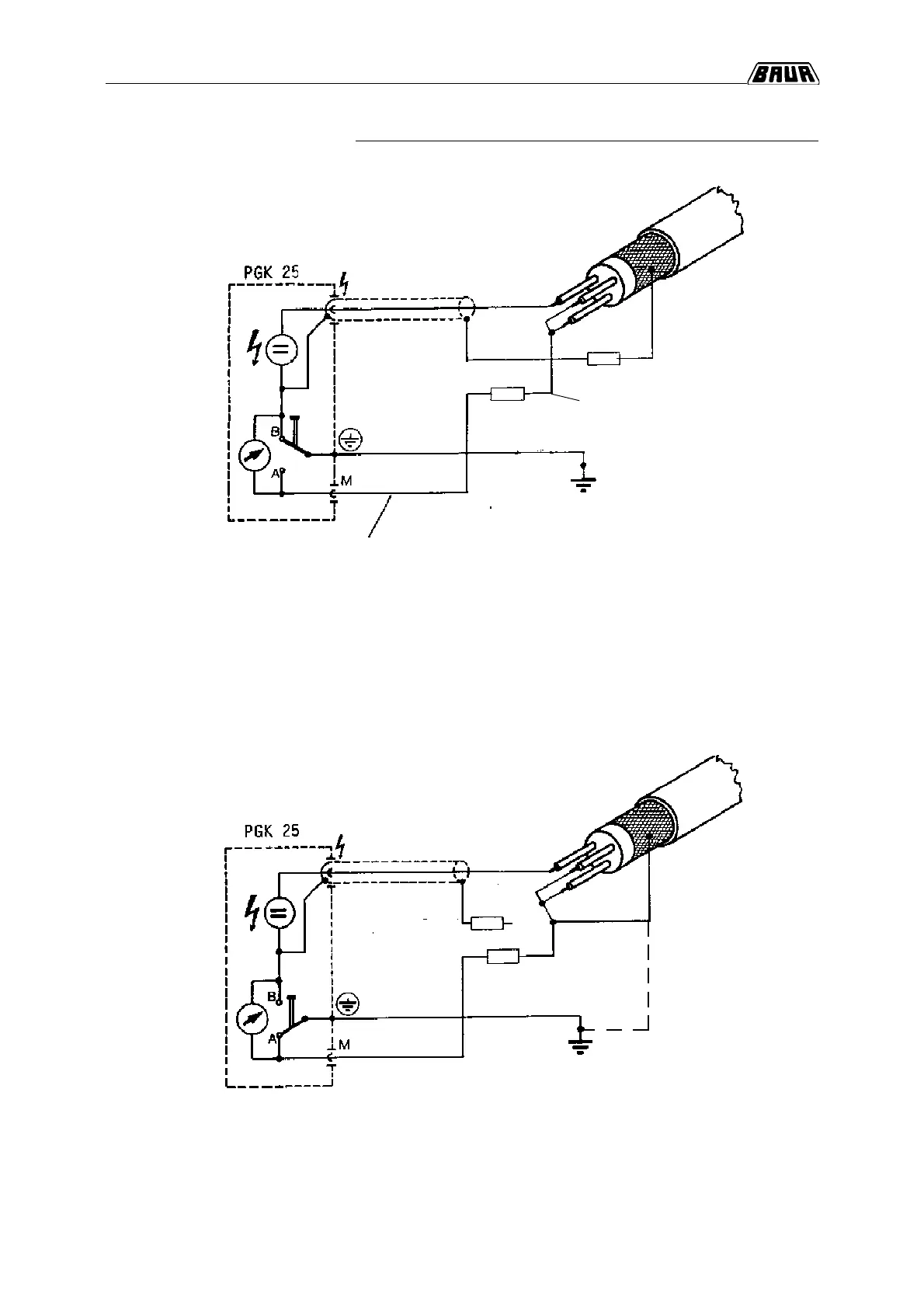
5. Guard Connection
5-4
The test lead may not be interrupted during testing, otherwise
the test lead could carry high voltage!
Insulation test between the conductors. The insulation currents
between the conductors and the shield will be ignored.
Insulation test between conductor and shield. All of the insulation
currents will be measured.
Conductors of test object not
connected to earth
Conductors of test
object and shield
connected to earth
Station earth
Guard
Guard
Station earth

Related product manuals