EasyManua.ls Logo

Baur PGK 25 - Page 19

Baur PGK 25
24 pages
Print Icon
To Next Page IconTo Next Page
To Next Page IconTo Next Page
To Previous Page IconTo Previous Page
To Previous Page IconTo Previous Page
Loading...
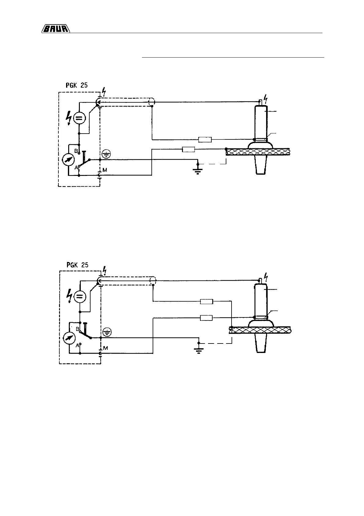
5. Guard Connection
5-5
Insulation test of a H.V. insulator. Under this test, the surface
currents of the insulator will be ignored.
Measurement of surface currents. Insulation leakage currents
which are flowing to the housing will be ignored during this test.
Very small surface currents can be measured.
The test lead may not be interrupted during testing, otherwise
the test lead could carry high voltage!
Housing
Contact ring
Insulator
Station earth
Guard
Housing
Contact ring
Insulator
Station earth
Guard

Related product manuals