EasyManua.ls Logo

Baur UL 30 - Tg 20;50

Default Icon
43 pages
Print Icon
To Next Page IconTo Next Page
To Next Page IconTo Next Page
To Previous Page IconTo Previous Page
To Previous Page IconTo Previous Page
Loading...
9
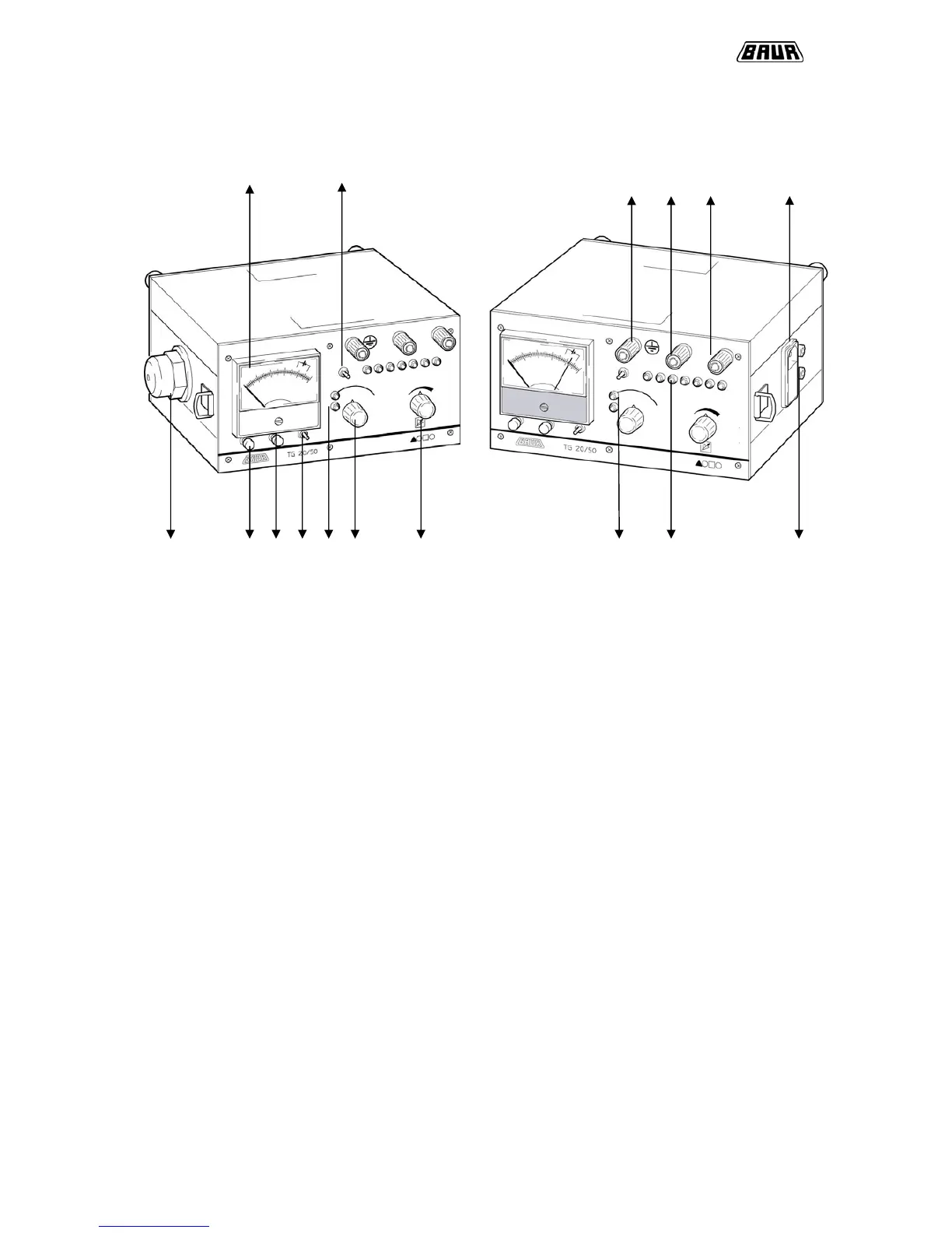
2.1.1 TG 20/50
3 9 14 13 13 11
15 7 8 6 2 5 10 1 4 12
Display elements:
1 Power control
2 Charge control
3 Pointer instrument for I
out
and I
in
and battery control
4 Indication of impedance level
Operating elements:
5 ON switch and mode selector
6 Button for battery control and instrument illumination
7 Button for indication of I
in
8 Button for switching measuring range x 0.1 for I
out
9 Button for automatic or manual impedance adjustment
10 Regulating switch for output current
Interfaces:
11 Mains connection
12 Connection for external battery
13 Output socket
14 Protective earth terminal
15 Connection for loop antenna

Related product manuals