EasyManua.ls Logo

Baxi 124 - Troubleshooting

Baxi 124
20 pages
Print Icon
To Next Page IconTo Next Page
To Next Page IconTo Next Page
To Previous Page IconTo Previous Page
To Previous Page IconTo Previous Page
Loading...
2.0 Troubleshooting
4
© Baxi Heating UK Ltd 2016
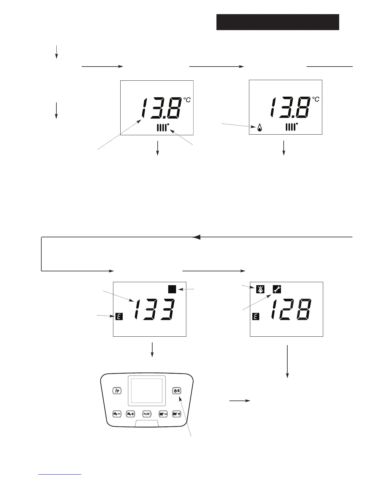
Boiler not working
START
Make sure the gas
supply is turned ON
and check if other
gas appliances are
operating (e.g. fire,
cooker).
NO
If no gas, consult
your supplier.
Is there electricity to the
boiler ? Is the display lit ?
R
Check electrical supply to
boiler is switched on.
NO
YES
Is the Burner Flame
symbol showing ?
R
Burner Flame
(Indicates burner
is on)
Boiler operating
satisfactorily.
NO
YES
YES
YES
Is the E and R symbol
illuminated or flashing ?
R
YES
Press the Reset Button
Error
Symbol
If it does
not reset
CONTACT YOUR
INSTALLER OR
SERVICE
ENGINEER.
R
Reset
Symbol
Is the Spanner symbol
illuminated or flashing ?
YES
Spanner
Symbol
Boiler
Temperature
Central Heating
Error Code
Flame
Failure
OR
Reset Button

Related product manuals