EasyManua.ls Logo

Beamz BBP60 - Unpacking Instruction; Power Supply; Installation

Beamz BBP60
25 pages
Print Icon
To Next Page IconTo Next Page
To Next Page IconTo Next Page
To Previous Page IconTo Previous Page
To Previous Page IconTo Previous Page
Loading...
3
UNPACKING INSTRUCTION
CAUTION! Immediately upon receiving the product, carefully unpack the carton, check the contents to ensure that all parts are
present, and have been received in good condition. Notify the shipper immediately and retain packing material for inspection if
any parts appear damage from shipping or the package itself shows signs of mishandling. Save the package and all packing
materials. In the event that the product must be returned to the factory, it is important that the product be returned in the original
factory box and packing.
If the device has been exposed to drastic temperature fluctuation (e.g. after transportation), do not switch it on immediately. The
arising condensation water might damage your device. Leave the device switched off until it has reached room temperature.
POWERSUPPLY
On the label on the backside of the product is indicated on this type of power supply must be connected. Check that the mains
voltage corresponds to this, all other voltages than specified, the light effect can be irreparably damaged. The product must also
be directly connected to the mains and may be used. No dimmer or adjustable power supply.
Always connect the device to a protected circuit (circuit breaker or fuse). Make sure the device has an appropriate
electrical ground to avoid the risk of electrocution or fire.
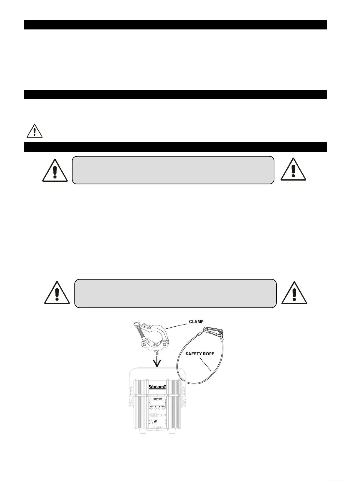
INSTALLATION
Attention:
The installation of the product has to be built and constructed in a way that it can hold 10 times the weight for 1 hour
without any harming deformation.
The installation must always be secured with a secondary safety attachment, e.g. an appropriate catch net. This
secondary safety attachment must be constructed in a way that no part of the installation can fall down if the main
attachment fails.
Make sure the area below the installation place is free from unwanted persons during rigging, de-rigging and servicing.
The operator has to make sure that safety-relating and machine-technical installations are approved by an expert
before taking into operation for the first time and after changes before taking into operation another time.
The operator has to make sure that safety-relating and machine-technical installations are approved by a skilled
person once a year.
The fixture should be installed in the position where persons cannot reach and where persons may walk by or be
seated.
CAUTION:
Please consider the respective national norms during the
installation! The installation must only be carried out by an
authorized employee or dealers!
CAUTION:
When installing the device, make sure there is no highly in
inflammable material (decoration articles, etc.) in between a
distance of min 20inch / 0.5 meter.

Related product manuals