EasyManua.ls Logo

Beamz BFP120 - Instrucciones de Desembalaje; Fuente de Alimentación; Instalación

Beamz BFP120
28 pages
Print Icon
To Next Page IconTo Next Page
To Next Page IconTo Next Page
To Previous Page IconTo Previous Page
To Previous Page IconTo Previous Page
Loading...
15
INSTRUCCIONES DE DESEMBALAJE
ATENCIÓN! Inmediatamente después de recibir un dispositivo, desempaque cuidadosamente la caja de cartón, compruebe el
contenido para asegurarse de que todas las partes están presentes, y se han recibido en buenas condiciones. Notifique
inmediatamente al transportista y conserve el material de embalaje para la inspección por si aparecen daños causados por el
transporte o el propio envase muestra signos de mal manejo. Guarde el paquete y todos los materiales de embalaje. En el caso
de que deba ser devuelto a la fábrica, es importante que el aparato sea devuelto en la caja de la fábrica y embalaje originales.
Si el aparato ha estado expuesto a grandes cambios de temperatura (tras el transporte), no lo enchufe inmediatamente. La
condensación de agua producida podría dañar su aparato. Deje el dispositivo apagado hasta que se haya alcanzado la
temperatura ambiente..
FUENTE DE ALIMENTACIÓN
En la etiqueta de la parte trasera del controlador se indica el tipo de fuente de alimentación que debe ser conectado.
Compruebe que la tensión de red corresponda a esto, todos los otros voltajes a la especificada, puede causar efectos
irreparable. El controlador también debe estar conectado directamente a la red para ser utilizado. No en ninguna fuente de
alimentación o dimmer ajustable.
Conecte siempre el producto a un circuito protegido (disyuntor o fusible). Asegúrese de que el producto tiene una
toma de tierra adecuada para evitar el riesgo de electrocución o incendio.
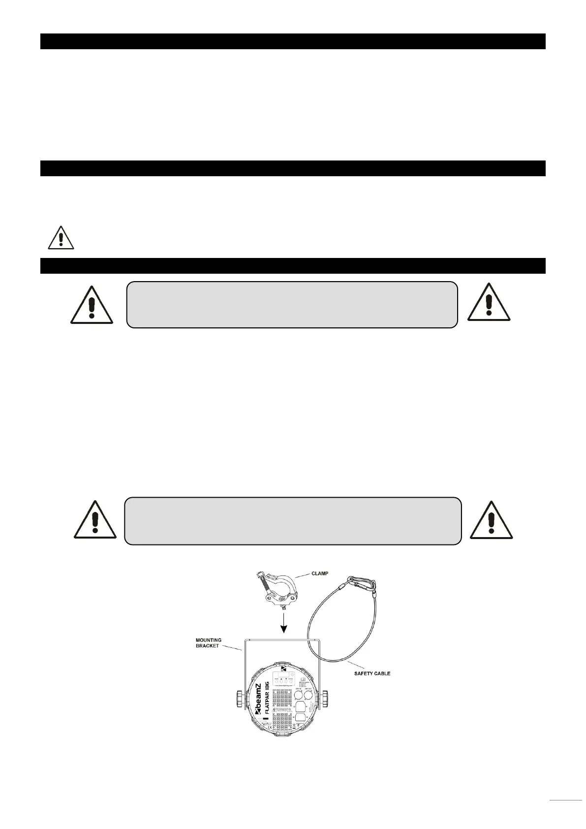
INSTALACIÓN
Atención:
La instalación del aparato debe ser de una manera que pueda soportar 10 veces su peso durante 1 hora sin sufrir
deformaciones dañosas.
La instalación siempre debe ser efectuada con un accesorio de seguridad secundario, por ejemplo, una red de anclaje
adecuada. Este accesorio de seguridad secundario debe ser construido de una manera que ninguna parte de la
instalación puede caer si falla el accesorio principal.
Asegúrese de que el área por debajo del sitio de instalación está libre de personas ajenas durante el montaje, de-
desmontaje y reparación.
El operador tiene que asegurarse de que las instalaciones de seguridad y de máquinas son inspeccionadas por un
perito antes de poner en funcionamiento por primera vez y antes de tomar otra puesta en marcha.
El operador tiene que asegurarse de que las instalaciones de seguridad y de máquinas son inspeccionadas por un
especialista una vez por año.
El aparato debe instalarse en la posición en la que las personas no puedan llegar y donde las personas puedan
caminar o sentarse.
PRECAUCIÓN: Por favor, considere las normas nacionales respectivas
durante la instalación! La instalación sólo debe ser
realizada por un empleado autorizado o distribuidores!
PRECAUCIÓN: Al instalar el aparato, asegúrese de que no hay material
altamente inflamable inflamable (artículos de decoración,
etc.) en una distancia mínima de 0,5 metros.

Related product manuals