EasyManua.ls Logo

Beamz BFP120 - Page 19

Beamz BFP120
28 pages
Print Icon
To Next Page IconTo Next Page
To Next Page IconTo Next Page
To Previous Page IconTo Previous Page
To Previous Page IconTo Previous Page
Loading...
19
DEBALLAGE
ATTENTION ! Immédiatement après réception, vérifiez le contenu du carton et assurez-vous que tous les éléments sont bien
présents et en bon état. Si besoin, faites les réserves nécessaires si le matériel ou les cartons sont endommagés. SI l’appareil
doit être retourné, faites-le dans l’emballage d’origine.
Si l’appareil a été exposé à des fluctuations importantes de températures (par exemple après le transport), ne l’allumez pas
immédiatement. De la condensation peut survenir. Laissez l’appareil éteint le temps qu’il atteigne la température ambiante.
ALIMENTATION
Vous trouvez sur l’étiquette à l’arrière de l’appareil, le type d’alimentation à utiliser. Vérifiez que la tension d’alimentation
corresponde à celle mentionnée. Toute autre alimentation peut endommager l’appareil. Reliez l’appareil au secteur, il est prêt à
être utilisé. En aucun cas, vous ne devez utiliser de dimmer ou d’alimentation réglable.
Connectez toujours l'appareil à un circuit protégé (disjoncteur ou fusible). Assurezvous que l'appareil soit correctement
relié à la terre afin d'éviter tout risque d'électrocution ou d'incendie
INSTALLATION
Attention:
L’installation de l’appareil doit être pensée et réalisée de telle sorte que le support de fixation puisse supporter 10 fois
le poids de l’appareil pendant une heure sans aucune déformation.
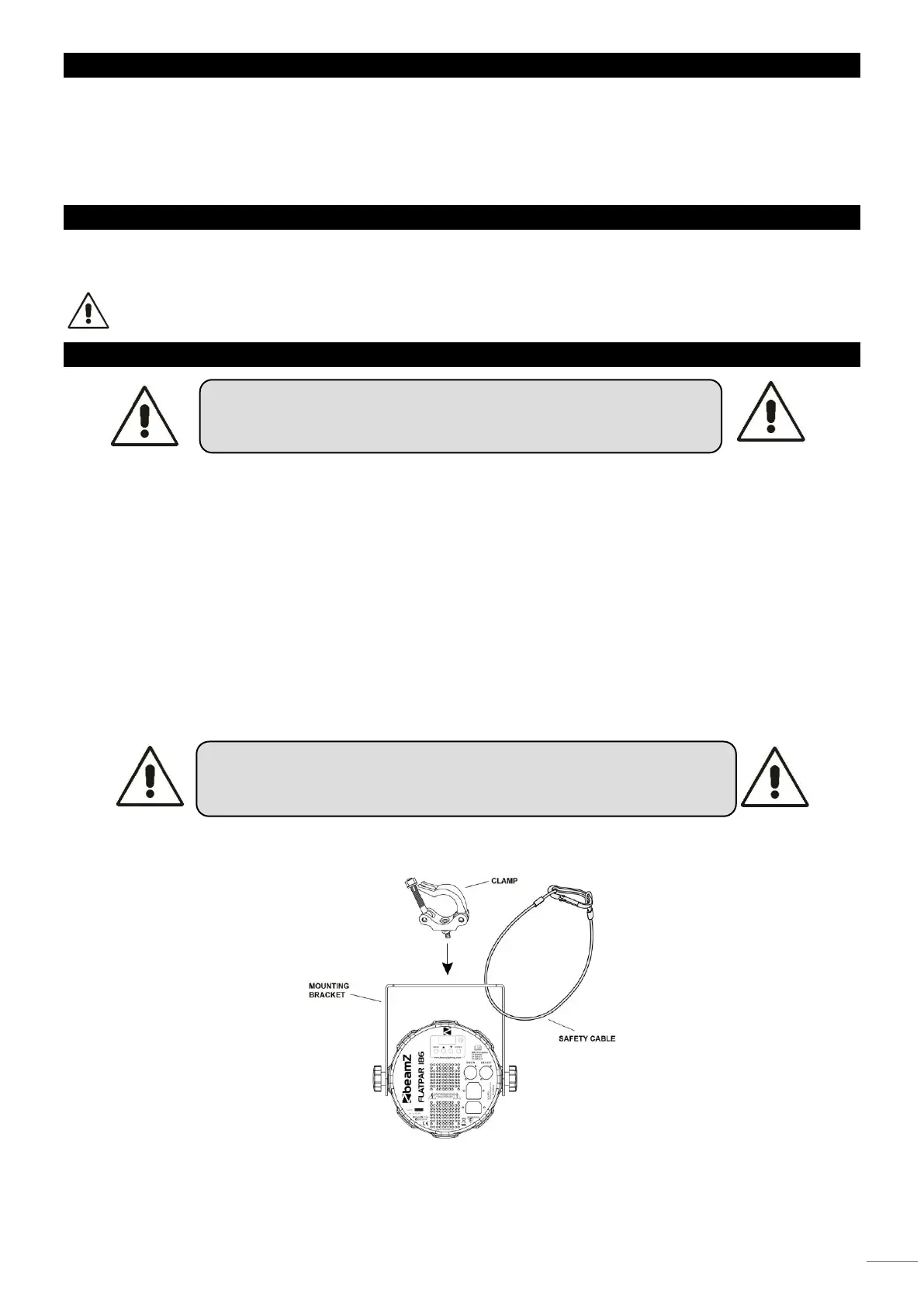
L’installation doit toujours être assurée par un second système de fixation, par exemple un filet ou une élingue. Ce
second système doit être conçu de telle sorte que aucun élément de l’installation ne puisse tomber si la fixation
principale venait à rompre.
Assurez-vous que la zone sous l’emplacement de montage ne puisse pas accueillir de public pendant le montage, le
démontage et l’utilisation.
Le responsable du fonctionnement doit faire approuver par un expert les conditions d’installation et d’utilisation de
l’appareil avant la première mise en service et après tout changement.
Le responsable du fonctionnement doit faire approuver par un expert les conditions d’installation et d’utilisation de
l’appareil, une fois par an.
L’appareil doit être installé de telle sorte que personne ne puisse l’atteindre, passer dessous ou être assis.
ATTENTION : Lors de l’installation, tenez compte des normes nationales
respectives ! Seuls des revendeurs et installateurs habilités
peuvent procéder à l’installation.
ATTENTION : Lorsque vous installez l’appareil, assurez-vous qu’il n’y a aucun
matériau fortement inflammable (décorations par exemple) à 0,5
mètres au moins de l’appareil.

Related product manuals