EasyManua.ls Logo

Beamz BFP120 - Page 7

Beamz BFP120
28 pages
Print Icon
To Next Page IconTo Next Page
To Next Page IconTo Next Page
To Previous Page IconTo Previous Page
To Previous Page IconTo Previous Page
Loading...
7
UITPAKKEN
LET OP! Onmiddellijk na ontvangst, zorgvuldig uitpakken van de doos, controleer de inhoud om ervoor te zorgen dat alle
onderdelen aanwezig zijn en zijn in goede staat zijn ontvangen. Bij transportschade of ontbreken van onderdelen onmiddellijk
de verkopende partij inlichten. Bewaar de verpakking en het verpakkingsmateriaal. Indien het armatuur moet worden
teruggestuurd, is het belangrijk dat de apparatuur in originele verpakking wordt geretourneerd.
Als het armatuur is blootgesteld aan drastische temperatuurverschillen (bv. na het transport), schakel het armatuur niet
onmiddellijk in. De ontstane condensatie kan het armatuur beschadigen. Zorg ervoor dat het armatuur op kamertemperatuur
komt en steek vervolgens de voeding stekker in het stopcontact/wandcontactdoos.
AANSLUITSPANNING
Op het label aan de achterzijde van het product staat aangegeven op welke netspanning deze moet worden aangesloten.
Controleer of de netspanning hiermee overeenkomt, bij alle andere netspanningen dan aangegeven kan de controller
onherstelbaar worden beschadigd. Tevens moet de controller direct op de netspanning worden aangesloten en mag géén
dimmer of regelbare voeding worden gebruikt.
Sluit het armatuur altijd aan op een beschermd circuit (aardlekschakelaar of zekering). Zorg ervoor dat het apparaat
voldoende elektrisch is geaard om het risico op elektrocutie of brand te vermijden.
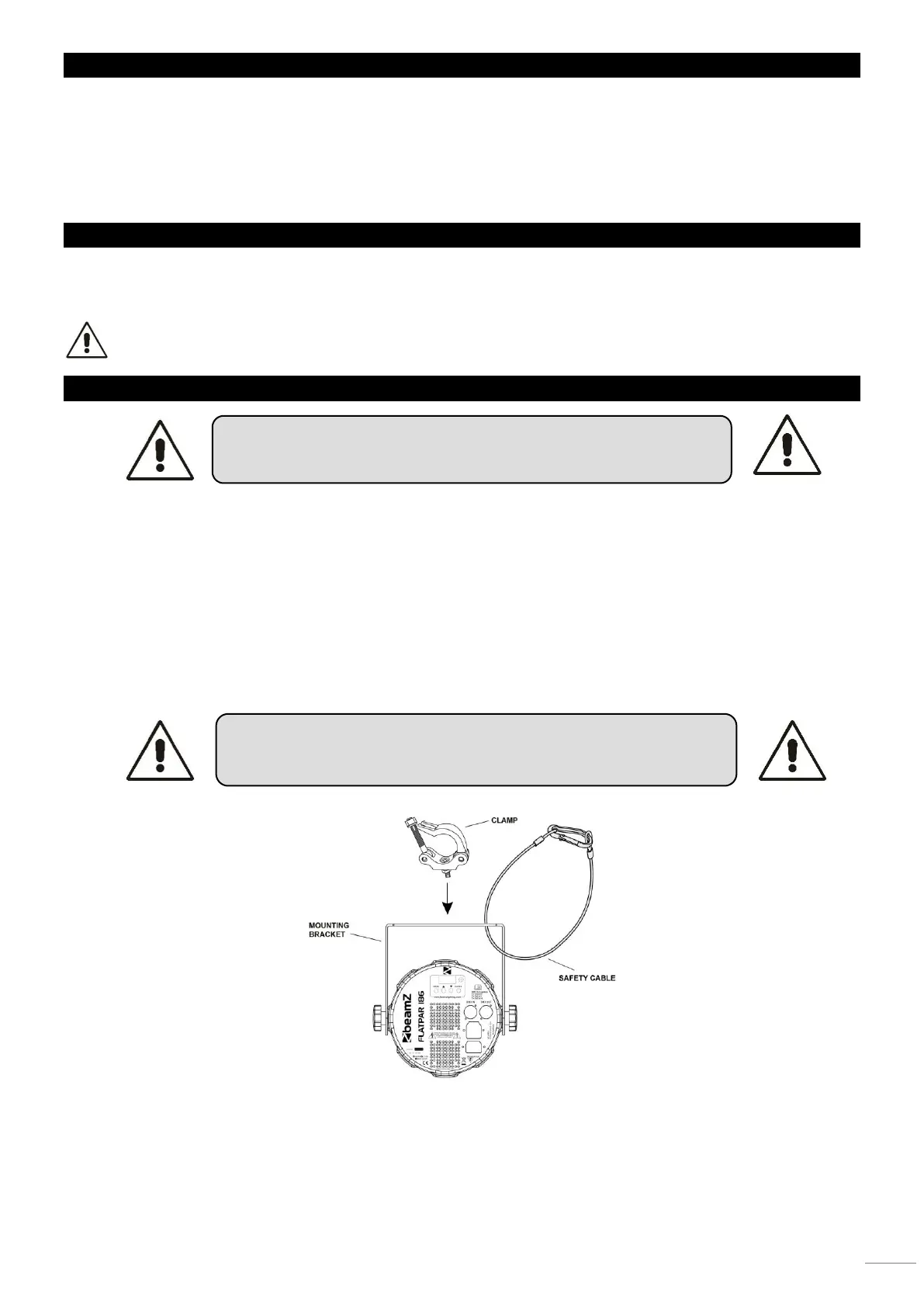
INSTALLATIE
De constructie van de ophanging dient zo te zijn dat deze 10 keer het gewicht per uur van het apparaat kan dragen.
Gebruik altijd de meegeleverde bevestigingsbeugel om het apparaat op te hangen.
Het apparaat dient m.b.v. een montageklem (niet meegeleverd) aan de meegeleverde bevestigingsbeugel te worden
bevestigd.
Het apparaat moet altijd worden gezekerd d.m.v. veiligheidskabel.
Zorg ervoor dat geen enkel individu tijdens installatie, reparatie enz. onder het apparaat staat of door kan lopen.
De gebruiker is verantwoordelijk voor het apparaat, de installatie en de veiligheid van het geheel. Is deze daartoe niet
in staat dient altijd een externe deskundige in de arm genomen te worden die het geheel controleert en de
verantwoordelijkheid op zich neemt.
De gebruiker dient minstens eens per jaar het apparaat en de installatie te laten controleren, op veiligheid, technische
werking enz., door een externe deskundige.
LET OP: Bij de installatie van het apparaat mag geen ontvlambaar materiaal
aanwezig zijn (decoratie materiaal, enz.). Houd tenminste 50 cm
afstand tot oppervlakken en andere apparatuur!

Related product manuals