EasyManua.ls Logo

Becker Centronic TimeControl TC445-II - Page 88

Becker Centronic TimeControl TC445-II
Print Icon
To Next Page IconTo Next Page
To Next Page IconTo Next Page
To Previous Page IconTo Previous Page
To Previous Page IconTo Previous Page
Loading...
88

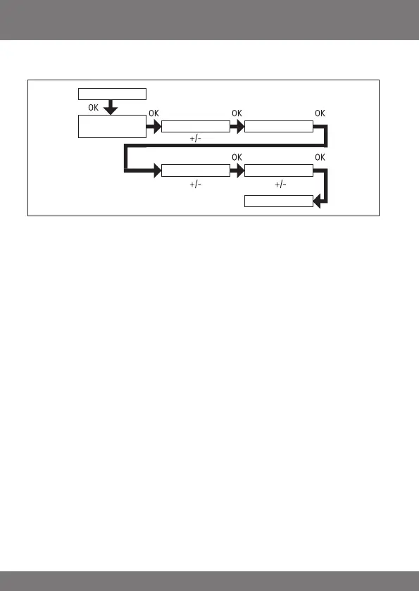
PROGRAMMA
ASTROAVOND (Op -> Schakeltijd, Neer -> Zonsondergang)
1. Druk op de MENU-toets.
2. Om het nieuwe PROGAMMA te selecteren, op de
+toets drukken tot PROGRAMMA verschijnt.
3. Bevestig met OK.
4. +toets opnieuw indrukken tot ASTRO AVOND verschijnt.
5. Bevestig met OK.
6. Gebruik de +/-toetsen om de SCHAKETIJD svan
maandag - vrijdag (1-5) in te stellen. Bevestig ieder ingevoerd gegeven met
OK.
7. Gebruik de +/-toetsen om nu de SPERTIJD tvan
maandag - vrijdag (1-5) in te stellen. Bevestig ieder ingevoerd gegeven met
OK.
8. Gebruik de +/-toetsen om nu de SCHAKELTIJD svan
zaterdag, zondag (6,7) in te stellen. Bevestig ieder ingevoerd gegeven met
OK.
9. Gebruik nu de+/- toetsen om de SPERTIJD t van
zaterdag, zondag (6,7) in te stellen. Bevestig ieder ingevoerd gegeven met
OK. PROGRAMMA verschijnt.
10. Druk op de MENU-toets, om in de bedrijfsmodus terecht te komen.
PROGRAMMA
SPERTIJD
PROGRAMMA
SCHAKELTIJD
SPERTIJD SCHAKELTIJD
ASTRO
AVOND

Table of Contents

Related product manuals