EasyManua.ls Logo

Becker Centronic TimeControl TC445-II - Page 95

Becker Centronic TimeControl TC445-II
Print Icon
To Next Page IconTo Next Page
To Next Page IconTo Next Page
To Previous Page IconTo Previous Page
To Previous Page IconTo Previous Page
Loading...
fr
en
de
nl

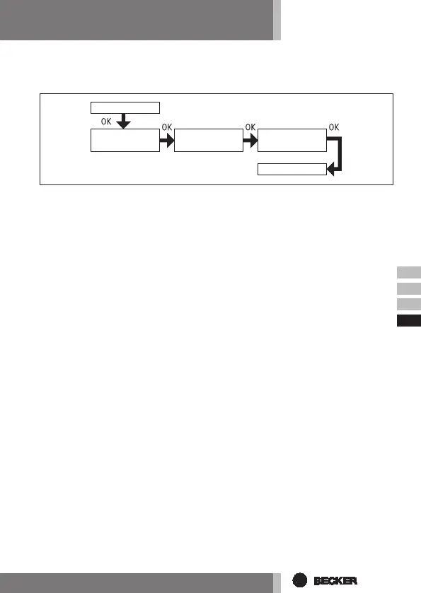
FUNCTIE
ROLLUIKEN/JALOEZIE,EERSTEINGEBRUIKNAME
(Selectie type raambekleding, de datum van de eerste ingebruikname)
1. Druk op de MENU-toets.
2. Om het menu FUNCTIE te selecteren, op de +toets drukken tot FUNCTIE
verschijnt.
3. Bevestig met OK. ROLLUIKEN/JALOEZIE verschijnt.
4. Gebruik de +/-toets om tussen rolluiken/jaloezie te kiezen.
5. Bevestig met OK. EXPERT MODUS OFF/ON verschijnt.
6. Gebruik de +/-toets om de gewenste instelling te kiezen.
7. Bevestig de keuze met OK. EERSTE INGEBRUIKNAME verschijnt.
8. Bevestig met OK.
9. Druk op de MENU-toets, om in de bedrijfsmodus terecht te komen.

Table of Contents

Related product manuals