EasyManua.ls Logo

BEHA Unitest CHB 7 - 3 Eléments de Commande Et Raccordements

BEHA Unitest CHB 7
Print Icon
To Next Page IconTo Next Page
To Next Page IconTo Next Page
To Previous Page IconTo Previous Page
To Previous Page IconTo Previous Page
Loading...
35
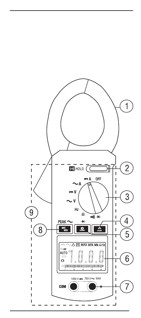
3.0 Eléments de commande et raccordements
1. Transducteur (pince)
2. Touche HOLD de mémorisation des valeurs mesurées
3. Sélecteur de type de mesure
4. Compensation à zéro / fonctin relative
5. Sélection manuelle de la plage de mesure
6. Affichage numérique
7. Bornes d'entrée pour mesures de tensions, résistances,
frequences et contrôles de
continuité et de diodes
8. Fonction valeurs
MIN / MAX /
valeurs de crête
(Pince ampère-
métrique
UNITEST
CHB 37
uniquement)
9. Secteur de
prise avec
des colliers
de protection
de prise
PTDB93470-05.qxd 14.12.2005 9:56 Uhr Seite 35

Table of Contents

Related product manuals