EasyManua.ls Logo

BEHA Unitest CHB 7 - 3 Bedienelemente und Anschlüsse

BEHA Unitest CHB 7
Print Icon
To Next Page IconTo Next Page
To Next Page IconTo Next Page
To Previous Page IconTo Previous Page
To Previous Page IconTo Previous Page
Loading...
5
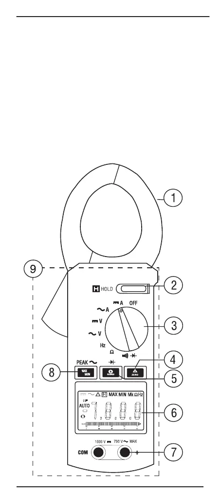
3.0 Bedienelemente und Anschlüsse
1. Meßwertaufnehmer (Stromzange)
2. HOLD-Taste zum “Festhalten“ von Meßwerten
3. Meßart-Wahlschalter
4. Nullabgleich/Relativ-Funktion
5. Manuelle Meßbereichswahl
6. Digitale Anzeige
7. Eingangsbuchsen für Spannungs-, Widerstands-, Frequenz-
messung und Durchgangs- und Diodenprüfung
8. MIN/MAX-Wertfunktion /
Peak-Erfassung (nur UNITEST Stromzange CHB 37)
9. Griffbereich mit Griffschutzkragen
PTDB93470-05.qxd 14.12.2005 9:56 Uhr Seite 5

Table of Contents

Related product manuals