EasyManua.ls Logo

Belarus 920.4 - Page 46

Default Icon
58 pages
Print Icon
To Next Page IconTo Next Page
To Next Page IconTo Next Page
To Previous Page IconTo Previous Page
To Previous Page IconTo Previous Page
Loading...
BELARUS-920.4/952.4 Operating manual
46
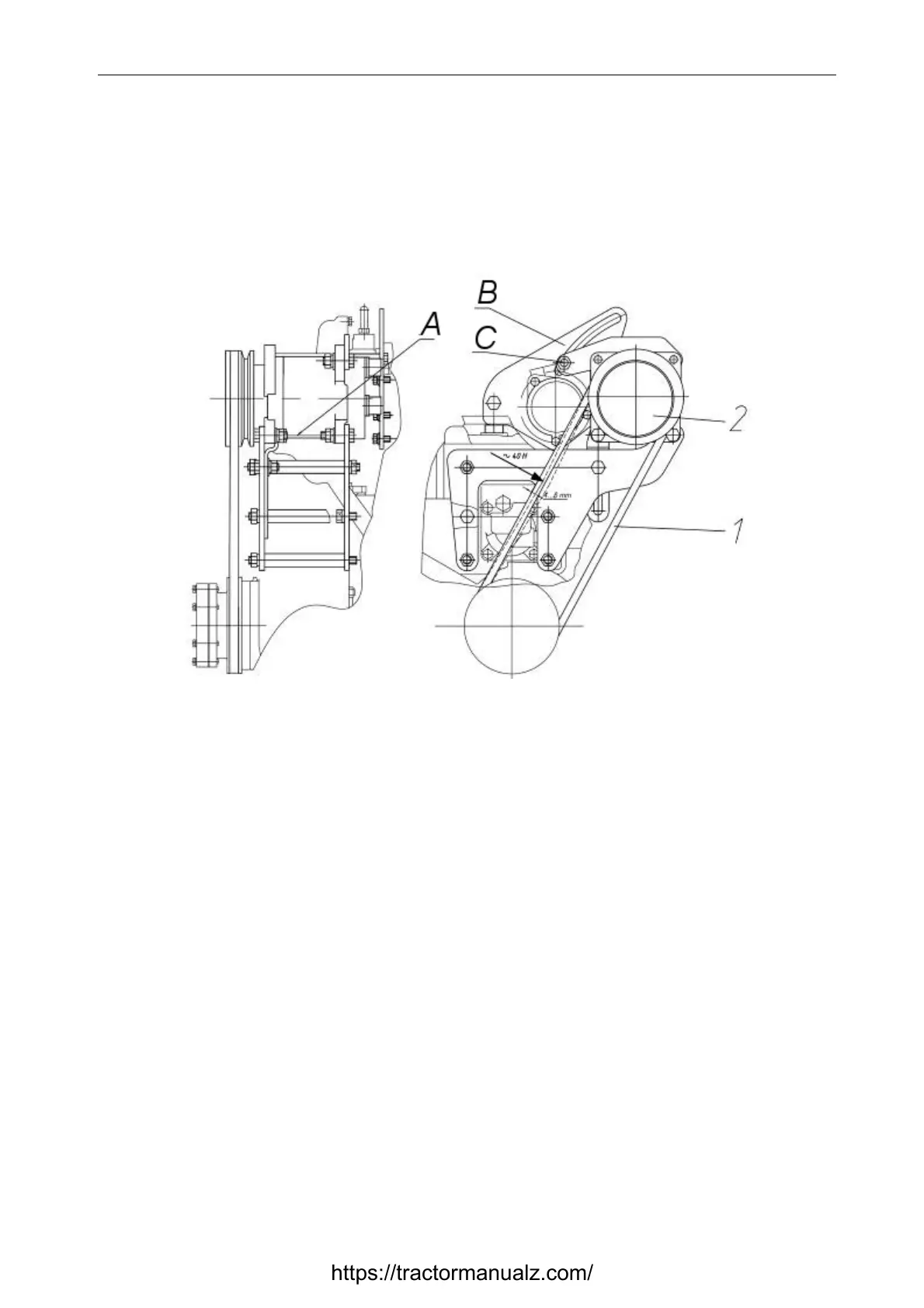
Operation 6a. Check / adjust tension of the air conditioner compressor drive
belt.
Check/adjust tension of the air conditioner compressor drive belt:
tension of the belt 1 of the air conditioner drive (Figure 3.4) is deemed normal if deflection
of its branch from the engine crankshaft pulley to the compressor pulley as measured in the middle
point is 4 to 6 mm when a force of (39 + 2.0) N is applied perpendicularly to the middle part of the
branch.
Figure 3.4 — Check / adjust tension of the air conditioner compressor drive belt.
Adjust tension of the air conditioner compressor drive belt:
adjust tension of the belt 1 (Figure 3.4) by turning the compressor 2 around the rotation
axis A and tightening the threaded coupling B in the groove of the sector C. After adjustment, the
belt deflection under a force of (39 + 2.0) N, applied perpendicularly to the middle part of the
branch, must be 4 to 6 mm.
Operation 7a. Check tightening of the bolts fastening the CAC air ducts
Check and tighten up as necessary the bolts fastening the CAC air ducts. The tightening
torque of the CAC air duct clamps must be 10 to 15 N•m.
Operation 8a. Check the oil level in the wet brake housings
To check the oil level in the wet brakes housing, perform the following:
- install the tractor on an even surface;
- unscrew the check-filler plugs 22 (Figure 2.5) in the right and left brake housings;
- the oil level in the brake housings must up to the hole edges of the check-filler plugs 22
on the front walls of the housings;
- if necessary, add oil through the holes of the plugs 22;
- screw the plugs 22.
https://tractormanualz.com/

Table of Contents

Related product manuals