EasyManua.ls Logo

BELLISSIMO TBD4SS-7 - Control Panel Overview

BELLISSIMO TBD4SS-7
40 pages
Print Icon
To Next Page IconTo Next Page
To Next Page IconTo Next Page
To Previous Page IconTo Previous Page
To Previous Page IconTo Previous Page
Loading...
13
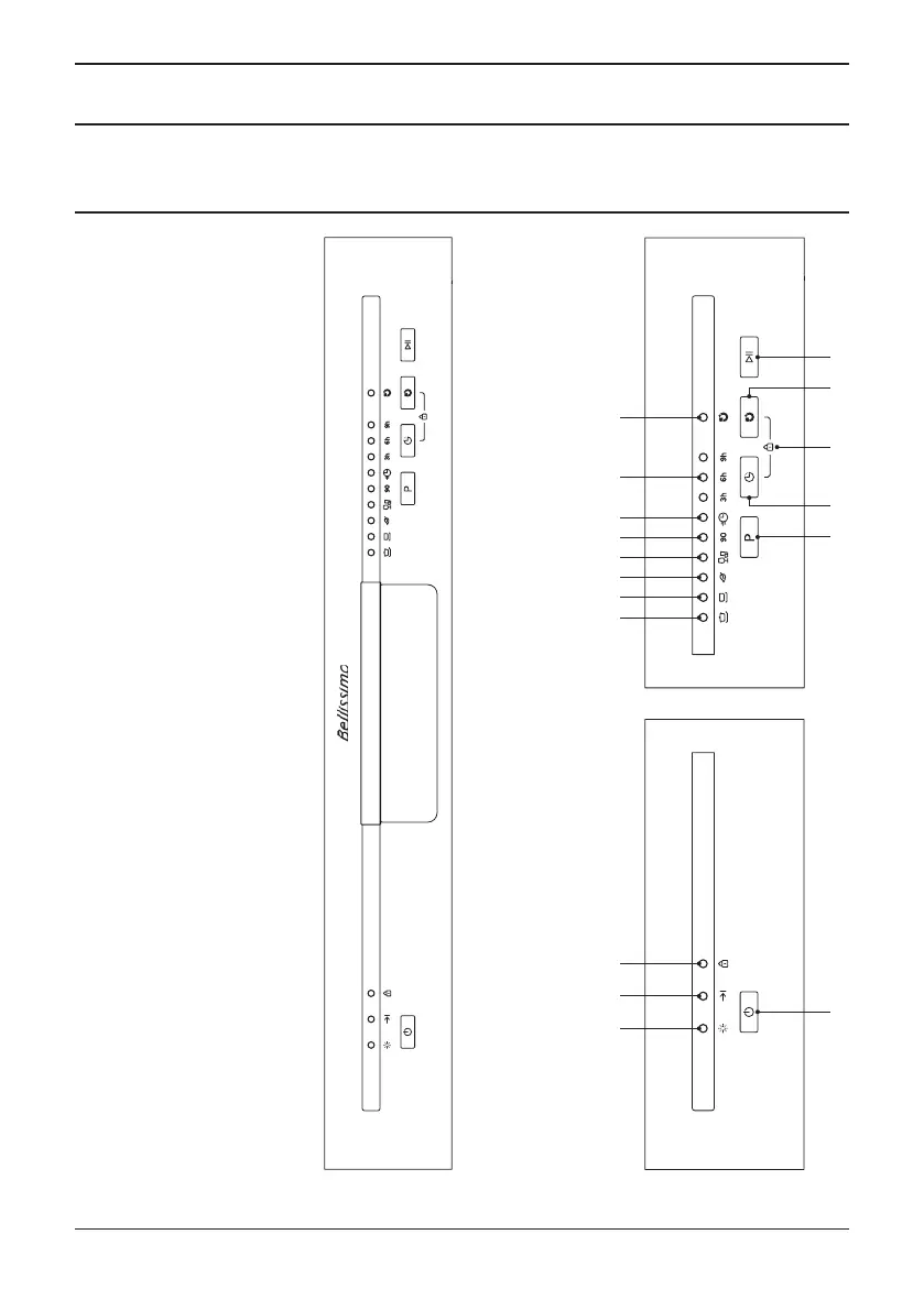
Control Panel Overview
OPERATION
1. Rinse aid indicator
2. Power button
3. Program end indicaator
4. Child lock indicator
5. Intensive indicator
6. Heavy indicator
7. Eco indicator
8. Glass indicator
9. 90min indicator
10. Program button
11. Rapid indicator
12. Delay start button
13. 3, 6, 9 hour indicators
14. Extra dry indicator
15. Extra dry button
16. Start / pause button
3 4 5 6 7 8 9 11 13 14 1
2 10 164 1512

Related product manuals