EasyManua.ls Logo

Bendix/King KY 196 - Page 20

Bendix/King KY 196
35 pages
Print Icon
To Next Page IconTo Next Page
To Next Page IconTo Next Page
To Previous Page IconTo Previous Page
To Previous Page IconTo Previous Page
Loading...
KY 196/19
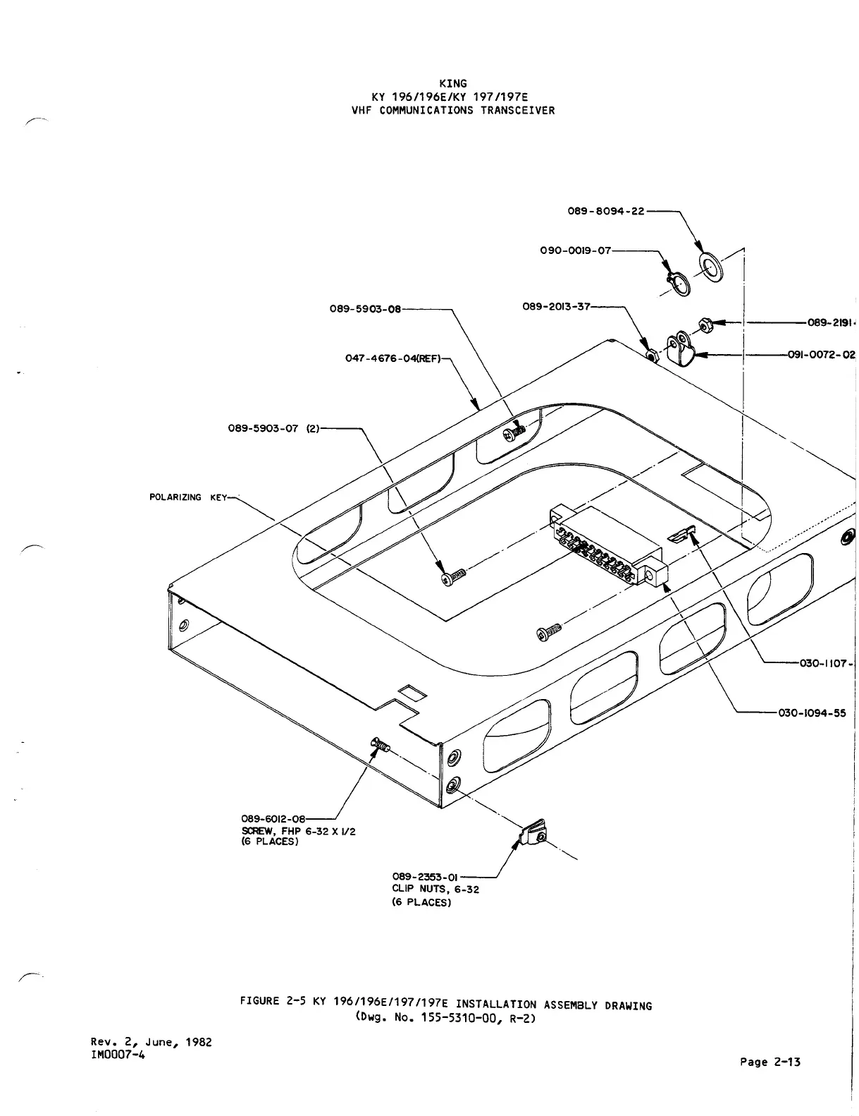
KING
VHF
COMMUNIC~~~~~S197/197E
TRANSCEIVER
POLARIZING
089-5903-08
047 -46
76
0
-
«REF)
089-5903-07
~
089-2353-01
~."
CLIP NUTS
~
(6 P
L
.6-32
ACES)
FIGURE 2-5 KY
196~196E/197/197E
Dwg. No.
155_5~~~~~~LATION
ASSEMBLY
, R-2)
DRAWING
Rev. 2
IM0007~4June,
1982
Page 2-13
All manuals and user guides at all-guides.com

Related product manuals