EasyManua.ls Logo

bester PDE 50 - Schematy

bester PDE 50
Print Icon
To Next Page IconTo Next Page
To Next Page IconTo Next Page
To Previous Page IconTo Previous Page
To Previous Page IconTo Previous Page
Loading...
A-24
Schematy
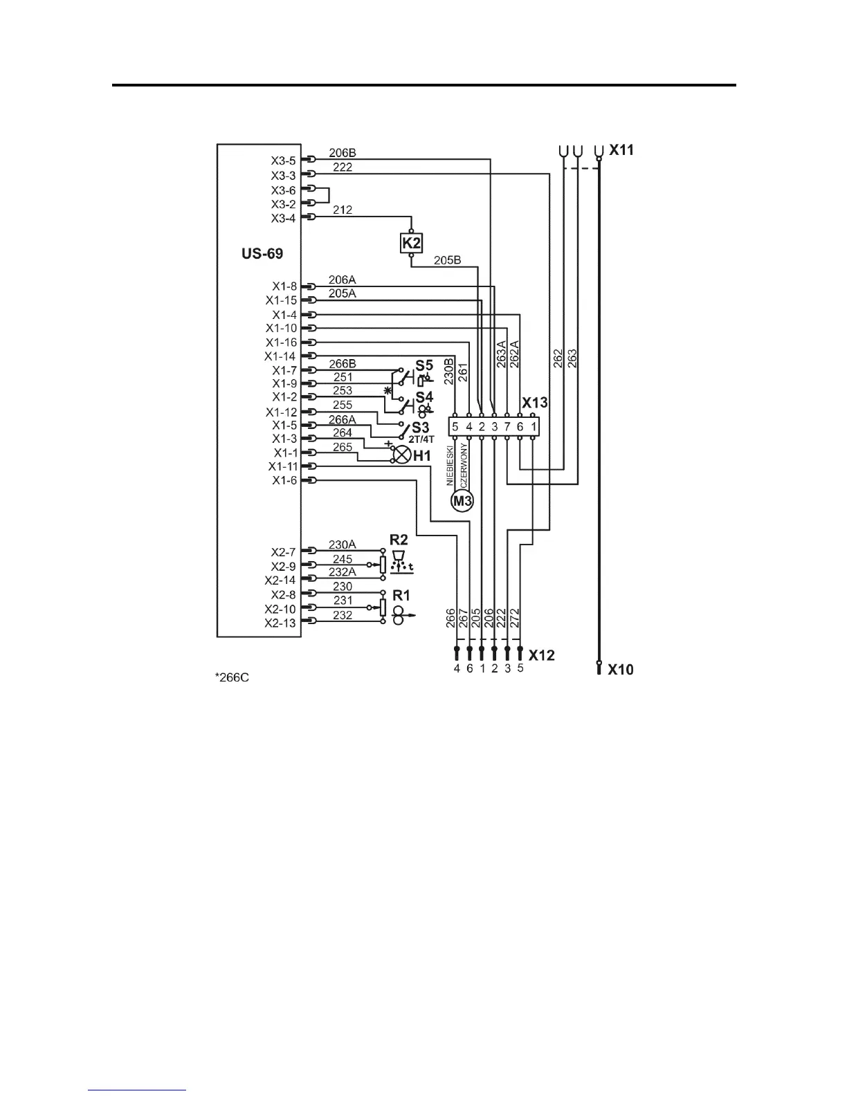
Schemat ideowy (PDE 50)

Related product manuals